Назначение
Устройства серии ESR являются высокопроизводительными многоцелевыми сетевыми маршрутизаторами. Устройства объединяет в себе традиционные сетевые функции и комплексный многоуровневый подход к безопасности маршрутизации, что позволяет обеспечить надежную защиту для корпоративной среды.
Устройства поддерживают функции межсетевого экрана для защиты сети организации и своей сетевой инфраструктуры, а также сочетают в себе новейшие средства обеспечения безопасности данных, шифрования, аутентификации и защиты от вторжений.
Маршрутизаторы содержат в себе средства для программной и аппаратной обработки данных. За счет оптимального распределения функций обработки данных между частями устройства достигается максимальная производительность.
Функции
Функции интерфейсов
В таблице 1 приведен список функций интерфейсов устройства.
Таблица 1 – Функции интерфейсов устройства
Определение полярности подключения кабеля | Автоматическое определение типа кабеля – перекрестный кабель или кабель прямого подключения.
|
Поддержка обратного давления | Метод обратного давления используется на полудуплексных соединениях для регулирования потока данных от встречного устройства путем создания коллизий. Метод позволяет избежать переполнения буферной памяти устройства и потери данных. |
Агрегирование каналов | Агрегирование (объединение) каналов позволяет увеличить пропускную способность канала связи и повысить его надежность. Маршрутизатор поддерживает статическое и динамическое агрегирование каналов. |
Функции при работе с MAC-адресами
В таблице 2 приведены функции устройства при работе с MAC-адресами.
Таблица 2 – Функции работы с MAC-адресами
Таблица MAC-адресов | Таблица MAC-адресов устанавливает соответствие между MAC-адресами и интерфейсами устройства и используется для маршрутизации пакетов данных. Маршрутизаторы имеют таблицу емкостью до 128k MAC-адресов и резервируют определенные MAC-адреса для использования системой. |
Режим обучения | MAC-таблица может содержать либо статические адреса, либо адреса, изученные при прохождении пакетов данных через устройство. Изучение происходит за счет регистрации MAC-адресов отправителей пакетов с привязкой их к портам и VLAN. Впоследствии эти данные используются для маршрутизации встречных пакетов. Время хранения зарегистрированных MAC-адресов ограничено, его продолжительность может настраиваться администратором. Если MAC-адрес получателя, указанный в принятом устройством пакете, отсутствует в таблице, то такой пакет отправляется далее как широковещательный в пределах L2-сегмента сети. |
Функции второго уровня сетевой модели OSI
В таблице 3 приведены функции и особенности второго уровня (уровень 2 OSI).
Таблица 3 – Описание функций второго уровня (уровень 2 OSI)
Поддержка VLAN | VLAN (Virtual Local Area Network) – это средство разделения сети на изолированные сегменты на уровне L2. Использование VLAN позволяет повысить устойчивость работы крупных сетей за счет деления их на более мелкие сети, изолировать разнородный трафик данных между собой и решить многие другие задачи. Маршрутизаторы поддерживают различные способы организации VLAN:
|
Протокол связующего дерева | Задачей протокола Spanning Tree является исключение избыточных сетевых соединений и приведение топологии сети к древовидной. Основные применения протокола связаны с предотвращением зацикливания сетевого трафика и с организацией резервных каналов связи. |
Функции третьего уровня сетевой модели OSI
В таблице 4 приведены функции третьего уровня (уровень 3 OSI).
Таблица 4 – Описание функций третьего уровня (Layer 3)
Статические IP-маршруты | Администратор маршрутизатора имеет возможность добавлять и удалять статические записи в таблицу маршрутизации. |
Динамическая маршрутизация
| Протоколы динамической маршрутизации позволяют устройству обмениваться маршрутной информацией с соседними маршрутизаторами и автоматически составлять таблицу маршрутов. Маршрутизатор поддерживает следующие протоколы: RIPv2, RIPng, OSPFv2, OSPFv3, IS-IS, BGP. |
Таблица ARP | ARP (Address Resolution Protocol) – протокол для выяснения соответствия адресов сетевого и канального уровней. Таблица ARP содержит информацию об изученном соответствии. Соответствие устанавливается на основе анализа ответов от сетевых устройств, адреса устройств запрашиваются с помощью широковещательных пакетов. |
Клиент DHCP
| Протокол DHCP (Dynamic Host Configuration Protocol) даёт возможность автоматизировать управление сетевыми устройствами. Клиент DHCP позволяет маршрутизатору получать сетевой адрес и дополнительные параметры от внешнего DHCP-сервера. Как правило, этот способ используется для получения сетевых настроек оператора публичной сети (WAN). |
Сервер DHCP | Сервер DHCP предназначен для автоматизации и централизации конфигурирования сетевых устройств. Размещение DHCP-сервера на маршрутизаторе позволяет получить законченное решение для поддержки локальной сети. DHCP-сервер, входящий в состав маршрутизатора, позволяет назначать IP-адреса сетевым устройствам и передавать дополнительные сетевые параметры – адреса серверов, адреса шлюзов сети и другие необходимые параметры. |
| DHCP Relay | Функция DHCP Relay предназначена для перенаправления широковещательных DHCP Discover-пакетов из одного широковещательного домена в одноадресные (unicast) DHCP Discover-пакеты в другом широковещательном домене. |
Трансляция сетевых адресов (NAT, Network Address Translation) | Трансляция сетевых адресов – это механизм, который позволяет преобразовывать IP-адреса и номера портов транзитных пакетов. Функция NAT позволяет использовать меньшее количество IP-адресов, транслируя несколько IP-адресов внутренней сети в один внешний публичный IP-адрес. Использование NAT позволяет увеличить защищённость локальной сети за счёт скрытия её внутренней структуры. Маршрутизаторы поддерживают следующие варианты NAT:
|
Функции туннелирования трафика
Таблица 5 – Функции туннелирования трафика
Протоколы туннелирования
| Туннелирование – это способ преобразования пакетов данных при передаче их по сети, при котором происходит замена, модификация или добавление нового сетевого заголовка пакета. Такой способ может быть использован для согласования транспортных протоколов при прохождении данных через транзитную сеть, для создания защищенных соединений, при которых туннелированные данные подвергаются шифрованию. Маршрутизаторы поддерживают следующие виды туннелей:
|
Функции управления и конфигурирования
Таблица 6 – Основные функции управления и конфигурирования
Загрузка и выгрузка файла настройки | Параметры устройства сохраняются в файле настройки, который содержит данные конфигурации как всей системы в целом, так и определенного порта устройства. Для передачи файлов могут использоваться протоколы TFTP, FTP, SCP. |
Интерфейс командной строки (CLI) | Управление посредством CLI осуществляется локально через последовательный порт RS-232 либо удаленно через Telnet, SSH. Интерфейс командной строки консоли (CLI) является промышленным стандартом. Интерпретатор CLI предоставляет список команд и ключевых слов для помощи пользователю и сокращению объема вводимых данных. |
Syslog | Протокол Syslog обеспечивает передачу информационных сообщений о происходящих в системе событиях и ведение журнала событий. |
Сетевые утилиты | Утилиты ping и traceroute – предназначены для проверки доступности сетевых устройств и для определения маршрутов передачи данных в IP-сетях. |
Управление контролируемым доступом – уровни привилегий | Маршрутизаторы поддерживают управление уровнем доступа пользователей к системе. Уровни доступа позволяют управлять зонами ответственности администраторов устройств. Уровни доступа нумеруются от 1 до 15, уровень 15 соответствует полному доступу к управлению устройством. |
Аутентификация | Аутентификация – это процедура проверки подлинности пользователя. Маршрутизаторы поддерживают следующие методы аутентификации:
|
Сервер SSH/ | Функции сервера SSH и Telnet позволяют установить соединение с устройством для управления им. |
Автоматическое восстановление конфигурации | Устройство поддерживает автоматическую систему восстановления конфигурации, которая предотвращает ситуации потери удаленного доступа к устройству после смены конфигурации. Если в течение заданного времени после изменения конфигурации не было введено подтверждение – произойдет автоматический откат конфигурации до предыдущего использовавшегося состояния. |
Функции сетевой защиты
В таблице 7 приведены функции сетевой защиты, выполняемые устройством.
Таблица 7 – Функции сетевой защиты
Зоны безопасности
| Все интерфейсы маршрутизатора распределяются по зонам безопасности. Для каждой пары зон настраиваются правила, определяющие возможность или невозможность прохождения данных между зонами, правила фильтрации трафика данных. |
Фильтрация данных | Для каждой пары зон безопасности составляется набор правил, которые позволяют управлять фильтрацией данных, проходящих через маршрутизатор. Командный интерфейс устройства предоставляет средства для детальной настройки правил классификации трафика и для назначения результирующего решения о пропуске трафика. |
Основные технические характеристики
Основные технические параметры маршрутизатора приведены в таблице 8.
Таблица 8 – Основные технические характеристики
Общие параметры | ||
|---|---|---|
Интерфейсы | ESR-3300 | 4 × 1000BASE-X/10GBASE-R/25GBASE-R 4 × 40GBASE-R (QSFP+)/100GBASE-R (QSFP28) 1 × Консольный порт RS-232 (RJ-45) 1 × Порт OOB 1 × USB 3.0 1 × Слот для microSD-карты |
| ESR-3200L | 4 × 1000BASE-X/10GBASE-R/25GBASE-R 8 × 10GBASE-R (SFP+)/1000BASE-X (SFP) 1 × Консольный порт RS-232 (RJ-45) 1 × Порт OOB 1 × USB 2.0 1 × Слот для microSD-карты | |
| ESR-3200 | 12 × 1000BASE-X/10GBASE-R/25GBASE-R 1 × Консольный порт RS-232 (RJ-45) 1 × Порт OOB 1 × USB 2.0 1 × Слот для microSD-карты | |
ESR-3100 | 8 × Ethernet 10/100/1000BASE-T/1000BASE-X 8 × 10GBASE-R (SFP+)/1000BASE-X (SFP) 1 × Консольный порт RS-232 (RJ-45) 2 × USB 3.0 1 × Слот для SD-карты | |
| ESR-1700 | 4 × Combo Ethernet 10/100/1000BASE-T/1000BASE-X (SFP) 8 × 10GBASE-R (SFP+)/1000BASE-X (SFP) 2 × Разъем для установки жесткого диска (будут поддержаны в будущих версиях) 1 × Консольный порт RS-232 (RJ-45) 1 × Порт OOB 2 × USB 2.0 | |
| ESR-1511 rev.B | 4 × Combo Ethernet 10/100/1000BASE-T/1000BASE-X (SFP) 4 × Ethernet 10/100/1000BASE-T (RJ-45) 4 × 10GBASE-R (SFP+)/1000BASE-X (SFP) 2 × 40GBASE-R (QSFP+) 1 × Консольный порт RS-232 (RJ-45) 1 × Порт OOB 1 × USB 2.0 1 × Слот для SD-карты | |
| ESR-1511 | 4 × Combo Ethernet 10/100/1000BASE-T/1000BASE-X (SFP) 4 × Ethernet 10/100/1000BASE-T (RJ-45) 4 × 10GBASE-R (SFP+)/1000BASE-X (SFP) 2 × 40GBASE-R (QSFP+) 1 × Консольный порт RS-232 (RJ-45) 1 × Порт OOB 2 × USB 2.0 1 × Слот для SD-карты | |
ESR-1500 | 4 × Combo Ethernet 10/100/1000BASE-T/1000BASE-X (SFP) 4 × Ethernet 10/100/1000BASE-T (RJ-45) 4 × 10GBASE-R (SFP+)/1000BASE-X (SFP) 1 × Консольный порт RS-232 (RJ-45) 1 × Порт OOB 2 × USB 2.0 1 × Слот для SD-карты | |
ESR-1200 | 4 × Combo Ethernet 10/100/1000BASE-T/1000BASE-X (SFP) 12 × Ethernet 10/100/1000BASE-T (RJ-45) 8 × 10GBASE-R (SFP+)/1000BASE-X (SFP) 1 × Консольный порт RS-232 (RJ-45) 2 × USB 2.0 1 × Слот для SD-карты | |
ESR-1000 | 24 × Ethernet 10/100/1000BASE-T (RJ-45) 2 × 10GBASE-R (SFP+)/1000BASE-X (SFP) 1 × Консольный порт RS-232 (RJ-45) 2 × USB 2.0 1 × Слот для SD-карты | |
ESR-200 | 4 × Combo Ethernet 10/100/1000BASE-T/1000BASE-X (SFP) 4 × Ethernet 10/100/1000BASE-T (RJ-45) 1 × Консольный порт RS-232 (RJ-45) 1 × USB 3.0 1 × USB 2.0 1 × Слот для SD-карты | |
ESR-100 | 4 × Combo Ethernet 10/100/1000BASE-T/1000BASE-X (SFP) 1 × Консольный порт RS-232 (RJ-45) 1 × USB 3.0 1 × USB 2.0 1 × Слот для SD-карты | |
| ESR-31 | 8 × Ethernet 10/100/1000BASE-T (RJ-45) 6 × Ethernet 1000BASE-X (SFP) 2 × 10GBASE-R (SFP+)/1000BASE-X (SFP) 3 × Последовательный порт RS-232 1 × Консольный порт RS-232 (RJ-45) 1 × USB 3.0 1 × USB 2.0 1 × Слот для microSD-карты | |
| ESR-30 | 4 × Ethernet 10/100/1000BASE-T (RJ-45) 2 × 10GBASE-R (SFP+)/1000BASE-X (SFP) 1 × Консольный порт RS-232 (RJ-45) 1 × USB 3.0 1 × USB 2.0 1 × Слот для microSD-карты | |
ESR-21 | 8 × Ethernet 10/100/1000BASE-T (RJ-45) 4 × 1000BASE-X (SFP) 3 × Последовательный порт RS-232 1 × Консольный порт RS-232 (RJ-45) 1 × USB 3.0 1 × USB 2.0 1 × Слот для SD-карты | |
ESR-20 | 2 × Combo Ethernet 10/100/1000BASE-T/1000BASE-X (SFP) 2 × Ethernet 10/100/1000BASE-T (RJ-45) 1 × Консольный порт RS-232 (RJ-45) 1 × USB 3.0 1 × USB 2.0 1 × Слот для SD-карты | |
| ESR-15VF | 8 × Ethernet 10/100/1000BASE-T (RJ-45) 2 × 1000BASE-X (SFP) 1 × Консольный порт RS-232 (RJ-45) 4 × FXS 2 × USB 2.0 | |
| ESR-15R | 4 × Ethernet 10/100/1000BASE-T (RJ-45) 2 × 1000BASE-X (SFP) 1 × Консольный порт RS-232 (RJ-45) 2 × USB 2.0 | |
| ESR-15 | 4 × Ethernet 10/100/1000BASE-T (RJ-45) 2 × 1000BASE-X (SFP) 1 × Консольный порт RS-232 (RJ-45) 2 × USB 2.0 | |
ESR-12VF | 8 × Ethernet 10/100/1000BASE-T (RJ-45) 1 × 1000BASE-X (SFP) 1 × Консольный порт RS-232 (RJ-45) 3 × FXS 1 × FXO 2 × USB 2.0 | |
ESR-12V | 8 × Ethernet 10/100/1000BASE-T (RJ-45) 1 × Консольный порт RS-232 (RJ-45) 3 × FXS 1 × FXO 2 × USB 2.0 | |
ESR-10 | 4 × Ethernet 10/100/1000BASE-T (RJ-45) 2 × 1000BASE-X (SFP) 1 × Консольный порт RS-232 (RJ-45) 2 × USB 2.0 | |
Типы оптических трансиверов | ESR-3300 | 1000BASE-X SFP 10GBASE-R SFP+ 25GBASE-R SFP28 40GBASE-R QSFP+ 100GBASE-R QSFP28 |
ESR-3200 ESR-3200L | 1000BASE-X SFP 10GBASE-R SFP+ 25GBASE-R SFP28 | |
ESR-1511 rev.B ESR-1511 | 1000BASE-X SFP 10GBASE-R SFP+ 40GBASE-X QSFP+ | |
ESR-3100 ESR-1700 ESR-1500 ESR-1200 ESR-1000 ESR-31 ESR-30 | 1000BASE-X SFP 10GBASE-R SFP+ | |
ESR-200 ESR-100 ESR-21 ESR-20 ESR-15VF ESR-15R ESR-15 ESR-12VF ESR-10 | 1000BASE-X SFP | |
Дуплексный и полудуплексный режимы интерфейсов |
| |
Максимальная пропускная способность маршрутизатора в | ESR-1700 ESR-1511 rev.B ESR-1511 ESR-1500 ESR-1200 | 160 Гбит/с |
ESR-1000 | 88 Гбит/с | |
Скорость передачи данных | ESR-3300 |
|
ESR-3200 ESR-3200L |
| |
ESR-1511 rev.B ESR-1511 |
| |
ESR-3100 ESR-1700 ESR-1500 ESR-1200 ESR-1000 ESR-31 ESR-30 |
| |
ESR-200 ESR-100 ESR-21 ESR-20 ESR-15VF ESR-15R ESR-15 ESR-12VF ESR-10 |
| |
ESR-12V |
| |
| Количество VPN-туннелей | ESR-1700 | 3200 |
ESR-3300 ESR-3200L ESR-3200 ESR-3100 ESR-1511 rev.B ESR-1511 ESR-1500 ESR-1200 ESR-1000 | 500 | |
ESR-200 ESR-100 ESR-31 ESR-30 ESR-21 ESR-20 | 250 | |
ESR-15VF ESR-15R ESR-15 ESR-12V(F) ESR-10 | 10 | |
| Количество статических маршрутов | ESR-3300 ESR-3200L ESR-3200 ESR-3100 ESR-1700 ESR-1511 rev.B ESR-1511 ESR-1500 ESR-1200 ESR-1000 ESR-200 ESR-100 ESR-31 ESR-30 ESR-21 ESR-20 | 11k |
ESR-15VF ESR-15R ESR-15 ESR-12V(F) ESR-10 | 1k | |
| Максимальное количество конкурентных сессий | ESR-3300 ESR-3200L ESR-3200 ESR-3100 ESR-1700 ESR-1511 rev.B ESR-1511 | 8,5M |
| ESR-1500 | 2,43M | |
ESR-1200 ESR-1000 | 3,13M | |
ESR-200 | 2,250M | |
ESR-31 ESR-30 | 3,26M | |
ESR-100 | 1,570M | |
ESR-21 ESR-20 | 2,940M | |
ESR-15VF ESR-15R ESR-15 | 300k | |
ESR-12V(F) ESR-10 | 440k | |
Таблица VLAN | 4094 | |
Количество маршрутов BGPv4/BGPv6 | ESR-3300 ESR-3200L ESR-3200 ESR-3100 ESR-1700 ESR-1511 rev.B ESR-1511 ESR-1500 ESR-1200 ESR-1000 | 5M |
ESR-200 ESR-100 ESR-31 ESR-30 ESR-21 ESR-20 | 2,5M | |
ESR-15VF ESR-15R ESR-15 ESR-12V(F) ESR-10 | 1M | |
Количество маршрутов OSPFv2/OSPFv3/IS-IS | ESR-3300 ESR-3200L ESR-3200 ESR-3100 ESR-1700 ESR-1511 rev.B ESR-1511 ESR-1500 ESR-1200 ESR-1000 | 500k |
ESR-200 ESR-100 ESR-31 ESR-30 ESR-20 ESR-21 | 300k | |
ESR-15VF ESR-15R ESR-15 ESR-12V(F) ESR-10 | 30k | |
Количество маршрутов RIP/RIPng | ESR-3300 ESR-3200L ESR-3200 ESR-3100 ESR-1700 ESR-1511 rev.B ESR-1511 ESR-1500 ESR-1200 ESR-1000 ESR-200 ESR-100 ESR-31 ESR-30 ESR-21 ESR-20 | 10k |
ESR-15VF ESR-15R ESR-15 ESR-12V(F) ESR-10 | 1k | |
Таблица MAC-адресов | ESR-1700 ESR-1511 rev.B ESR-1511 ESR-1500 ESR-1200 | 128k записей |
ESR-1000 | 16k записей | |
Размер базы FIB | ESR-1700 | 3,0M |
ESR-3300 ESR-3200L ESR-3200 ESR-3100 ESR-1511 rev.B ESR-1511 ESR-1500 ESR-1200 ESR-1000 | 1,7M | |
ESR-200 ESR-100 ESR-31 ESR-30 ESR-21 ESR-20 | 1,4M | |
ESR-15VF ESR-15R ESR-15 ESR-12V(F) ESR-10 | 1M | |
| VRF | 32 | |
Количество L3-интерфейсов | ESR-1700 | 10000 |
ESR-3300 ESR-3200L ESR-3200 ESR-3100 ESR-1511 rev.B ESR-1511 ESR-1500 ESR-1200 ESR-1000 ESR-200 ESR-100 ESR-31 ESR-30 ESR-21 ESR-20 | 4000 | |
ESR-15VF ESR-15R ESR-15 ESR-12V(F) ESR-10 | 200 | |
Соответствие стандартам | IEEE 802.3 10BASE-T Ethernet IEEE 802.3u 100BASE-T Fast Ethernet IEEE 802.3ab 1000BASE-T Gigabit Ethernet IEEE 802.3z Fiber Gigabit Ethernet IEEE 802.3cc 25GBASE-LR Ethernet IEEE 802.3by 25GBASE-SR Ethernet IEEE 802.3ba 40GBASE-SR4, 40GBASE-LR4 ANSI/IEEE 802.3 автоопределение скорости IEEE 802.3x контроль потоков данных IEEE 802.3ad объединение каналов LACP IEEE 802.1Q виртуальные локальные сети VLAN IEEE 802.1v, IEEE 802.3ac, IEEE 802.3ae, IEEE 802.1D, IEEE 802.1w, IEEE 802.1s | |
Управление | ||
Локальное управление | CLI | |
Удаленное управление | Telnet, SSH | |
| Физические характеристики и условия окружающей среды | ||
| Источники питания | ESR-1700 | Сеть переменного тока: 176–264 В, 50–60 Гц Сеть постоянного тока: 36–72 В Варианты питания:
|
ESR-3300 ESR-3200L ESR-3200 ESR-3100 ESR-1511 rev.B ESR-1511 ESR-1500 ESR-1200 ESR-1000 ESR-31 | Сеть переменного тока: 100–240 В, 50–60 Гц Сеть постоянного тока: 36–72 В Варианты питания:
| |
ESR-200 ESR-100 ESR-30 ESR-21 ESR-20 ESR-15VF ESR-15R ESR-12V(F) | Сеть переменного тока: 100–264 В, 50–60 Гц | |
| ESR-15 | Сеть переменного тока 220 В (через адаптер питания 12 В, 2 A) | |
| ESR-10 | Сеть переменного тока 220 В (через адаптер питания 12 В, 1,5 A) | |
| Максимальная потребляемая мощность | ESR-3300 | 177 Вт |
| ESR-3200L | 105,3 Вт | |
| ESR-3200 | 118 Вт | |
| ESR-3100 | 123 Вт | |
| ESR-1700 | 250 Вт | |
ESR-1511 rev.B ESR-1511 | 128 Вт | |
| ESR-1500 | 125 Вт | |
| ESR-1200 | 85 Вт | |
| ESR-1000 | 75 Вт | |
| ESR-200 | 25 Вт | |
| ESR-100 | 20 Вт | |
| ESR-31 | 40 Вт | |
| ESR-30 | 26 Вт | |
| ESR-21 | 32 Вт | |
ESR-20 | 25 Вт | |
ESR-15R ESR-15 | 18 Вт | |
ESR15VF ESR-12V(F) | 22 Вт | |
| ESR-10 | 9 Вт | |
| Масса | ESR-3300 | 6 кг |
ESR-3200L ESR-3200 | 5 кг | |
| ESR-3100 | 4,34 кг | |
| ESR-1700 | 12 кг | |
ESR-1511 rev.B ESR-1511 ESR-1500 | 7 кг | |
| ESR-1200 | 5,5 кг | |
| ESR-1000 | 3,6 кг | |
ESR-200 ESR-100 | 2,5 кг | |
| ESR-31 | 4,44 кг | |
| ESR-30 | 1,8 кг | |
| ESR-21 | 3,15 кг | |
| ESR-20 | 2 кг | |
| ESR-15VF | 1,534 кг | |
| ESR-15R | 1,405 кг | |
| ESR-15 | 0,325 кг | |
ESR-12V(F) | 1 кг | |
ESR-10 | 0,3 кг | |
| Габаритные размеры (Ш × В × Г) | ESR-3300 | 440 × 44 × 425 мм |
ESR-3200L ESR-3200 ESR-3100 | 430 × 44 × 330 мм | |
ESR-1700 | 440 × 88 × 490 мм | |
ESR-1511 rev.B ESR-1511 ESR-1500 | 430 × 44 × 425 мм | |
ESR-1200 ESR-1000 | 430 × 44 × 352 мм | |
ESR-200 ESR-100 | 310 × 44 × 240 мм | |
| ESR-31 | 430 × 43,6 × 275 мм | |
| ESR-21 | 430 × 44 × 225 мм | |
ESR-30 ESR-20 | 267 × 44 × 212 мм | |
ESR-15VF ESR-15R | 267 × 44 × 160 мм | |
| ESR-15 | 230 × 32 × 133 мм | |
ESR-12V(F) | 267 × 43,6 × 160,5 мм | |
| ESR-10 | 185 × 32 × 118 мм | |
| Интервал рабочих температур | ESR-3300 ESR-3200L ESR-3200 ESR-3100 ESR-1700 ESR-1511 rev.B ESR-1511 ESR-1500 ESR-1200 ESR-1000 ESR-200 ESR-100 ESR-30 ESR-21 ESR-20 | от -10 до +45 °С |
ESR-31 ESR-15VF ESR-15R ESR-15 ESR-12V(F) ESR-10 | от 0 до +40 °С | |
| Интервал температуры хранения | от -40 до +70 °С | |
| Относительная влажность при эксплуатации (без образования конденсата) | не более 80 % | |
| Относительная влажность при хранении (без образования конденсата) | от 10 до 95 % | |
| Срок службы | не менее 15 лет | |
Конструктивное исполнение
В данном разделе описано конструктивное исполнение устройства. Представлены изображения передней, задней и боковых панелей устройства. Описаны разъемы, светодиодные индикаторы и органы управления.
Конструктивное исполнение ESR-3300
Устройство выполнено в металлическом корпусе с возможностью установки в 19” конструктив, высота корпуса 1U.
Передняя панель устройства ESR-3300
Внешний вид передней панели ESR-3300 показан на рисунке 1.
Рисунок 1 – Передняя панель ESR-3300
Таблица 9 – Описание разъемов, индикаторов и органов управления передней панели ESR-3300
№ | Элемент передней панели | Описание |
|---|---|---|
| 1 | 25GE [1 .. 4] | 4 порта 1000BASE-X/10GBASE-R/25GBASE-R |
| 2 | 40/100GE [1 .. 4] | 4 порта Ethernet 40GBASE-R (QSFP+)/100GBASE-R (QSFP28) |
| 3 | USB | Порт USB 3.0 для подключения USB-устройств. |
| 4 | microSD | Разъем для установки microSD-карт памяти. |
| 5 | Console | Консольный порт RS-232 (RJ-45) для локального управления устройством. |
| 6 | OOB | Ethernet-интерфейс используется для удаленного доступа и управления и обновления программного обеспечения через вторичный загрузчик U-Boot. Данный интерфейс не может участвовать в маршрутизации транзитного трафика. |
| 7 | F | Функциональная кнопка для перезагрузки устройства и сброса к заводским настройкам:
|
8 | Status | Индикатор текущего состояния устройства. |
Alarm | Индикатор наличия и уровня аварии устройства. | |
User | Индикатор, использующийся для пользовательских сценариев, которые можно назначить в режиме конфигурирования устройства. | |
Flash | Индикатор активности обмена с накопителем данных – microSD-картой или USB Flash. | |
Power | Индикатор питания устройства. | |
Master | Индикатор работы устройства в failover-режимах (не используется в текущей версии). | |
Fan | Индикатор аварии вентиляторов. | |
RPS | Индикатор резервного источника электропитания. |
Задняя панель устройства ESR-3300
Внешний вид задней панели ESR-3300 приведен на рисунке ниже.
Рисунок 2 – Задняя панель ESR-3300
Таблица 10 – Описание разъемов задней панели ESR-3300
№ | Описание |
|---|---|
1 | Основной источник питания. |
2 | Клеммы для заземления устройства. |
3 | Съемные вентиляционные модули с возможностью горячей замены. |
4 | Место для установки резервного источника питания. |
Боковые панели устройства ESR-3300
Внешний вид боковых панелей ESR-3300 приведен на рисунке ниже.
Рисунок 3 – Правая боковая панель ESR-3300
Рисунок 4 – Левая боковая панель ESR-3300
На боковых панелях устройства расположены вентиляционные решетки, которые служат для отвода тепла. Не закрывайте вентиляционные отверстия посторонними предметами. Это может привести к перегреву компонентов устройства и вызвать нарушения в его работе. Рекомендации по установке устройства расположены в разделе Установка и подключение.
Конструктивное исполнение ESR-3200L
Устройство выполнено в металлическом корпусе с возможностью установки в 19” конструктив, высота корпуса 1U.
Передняя панель устройства ESR-3200L
Внешний вид передней панели ESR-3200L показан на рисунке 5.
Рисунок 5 – Передняя панель ESR-3200L
Таблица 11 – Описание разъемов, индикаторов и органов управления передней панели ESR-3200L
№ | Элемент передней панели | Описание |
|---|---|---|
1 | Status | Индикатор текущего состояния устройства. |
Alarm | Индикатор наличия и уровня аварии устройства. | |
User | Индикатор, использующийся для пользовательских сценариев, которые можно назначить в режиме конфигурирования устройства. | |
Flash | Индикатор активности обмена с накопителем данных – microSD-картой или USB Flash. | |
Power | Индикатор питания устройства. | |
Master | Индикатор работы устройства в failover-режимах (не используется в текущей версии). | |
Fan | Индикатор аварии вентиляторов. | |
RPS | Индикатор резервного источника электропитания. | |
2 | F | Функциональная кнопка для перезагрузки устройства и сброса к заводским настройкам:
|
| 3 | Console | Консольный порт RS-232 (RJ-45) для локального управления устройством. |
| 4 | OOB | Ethernet-интерфейс используется для удаленного доступа и управления и обновления программного обеспечения через вторичный загрузчик U-Boot. Данный интерфейс не может участвовать в маршрутизации транзитного трафика. |
5 | microSD | Разъем для установки microSD-карт памяти. |
| 6 | USB | Порт USB 2.0 для подключения USB-устройств. |
| 7 | [1 .. 4] | 4 порта Gigabit Ethernet 1000BASE-X/10GBASE-R/25GBASE-R. |
| 8 | [1 .. 8] | Слоты для установки трансиверов 10G SFP+/1G SFP. |
Задняя панель устройства ESR-3200L
Внешний вид задней панели ESR-3200L приведен на рисунке ниже.
Рисунок 6 – Задняя панель ESR-3200L
Таблица 12 – Описание разъемов задней панели ESR-3200L
№ | Описание |
|---|---|
1 | Основной источник питания. |
2 | Клемма для заземления устройства. |
3 | Съемные вентиляционные модули с возможностью горячей замены. |
| 4 | |
5 | Место для установки резервного источника питания. |
Боковые панели устройства ESR-3200L
Внешний вид боковых панелей ESR-3200L приведен на рисунках ниже.
Рисунок 7 – Правая боковая панель ESR-3200L
Рисунок 8 – Левая боковая панель ESR-3200L
На боковых панелях устройства расположены вентиляционные решетки, которые служат для отвода тепла. Не закрывайте вентиляционные отверстия посторонними предметами. Это может привести к перегреву компонентов устройства и вызвать нарушения в его работе. Рекомендации по установке устройства расположены в разделе Установка и подключение.
Конструктивное исполнение ESR-3200
Устройство выполнено в металлическом корпусе с возможностью установки в 19” конструктив, высота корпуса 1U.
Передняя панель устройства ESR-3200
Внешний вид передней панели ESR-3200 показан на рисунке 9.
Рисунок 9 – Передняя панель ESR-3200
Таблица 13 – Описание разъемов, индикаторов и органов управления передней панели ESR-3200
№ | Элемент передней панели | Описание |
|---|---|---|
1 | Status | Индикатор текущего состояния устройства. |
Alarm | Индикатор наличия и уровня аварии устройства. | |
VPN | Индикатор режима работы в режиме VPN-шлюза (не используется в текущей версии). | |
Flash | Индикатор активности обмена с накопителем данных – microSD-картой или USB Flash. | |
Power | Индикатор питания устройства. | |
Master | Индикатор работы устройства в failover-режимах (не используется в текущей версии). | |
Fan | Индикатор аварии вентиляторов. | |
RPS | Индикатор резервного источника электропитания. | |
2 | F | Функциональная кнопка для перезагрузки устройства и сброса к заводским настройкам:
|
| 3 | OOB | Ethernet-интерфейс используется для удаленного доступа и управления и обновления программного обеспечения через вторичный загрузчик U-Boot. Данный интерфейс не может участвовать в маршрутизации транзитного трафика. |
| 4 | Console | Консольный порт RS-232 (RJ-45) для локального управления устройством. |
5 | microSD | Разъем для установки microSD-карт памяти. |
| 6 | USB1 | Порт USB 2.0 для подключения USB-устройств. |
| 7 | [1 .. 12] | Слоты для установки трансиверов 25G SFP28/10G SFP+/1G SFP. |
Задняя панель устройства ESR-3200
Внешний вид задней панели ESR-3200 приведен на рисунке ниже.
Рисунок 10 – Задняя панель ESR-3200
Таблица 14 – Описание разъемов задней панели ESR-3200
№ | Описание |
|---|---|
1 | Место для установки резервного источника питания. |
2 | Клемма для заземления устройства. |
3 | Съемные вентиляционные модули с возможностью горячей замены. |
| 4 | |
5 | Основной источник питания. |
Боковые панели устройства ESR-3200
Внешний вид боковых панелей приведен на рисунках ниже.
Рисунок 11 – Правая боковая панель ESR-3200
Рисунок 12 – Левая боковая панель ESR-3200
На боковых панелях устройства расположены вентиляционные решетки, которые служат для отвода тепла. Не закрывайте вентиляционные отверстия посторонними предметами. Это может привести к перегреву компонентов устройства и вызвать нарушения в его работе. Рекомендации по установке устройства расположены в разделе Установка и подключение.
Конструктивное исполнение ESR-3100
Устройство выполнено в металлическом корпусе с возможностью установки в 19” конструктив, высота корпуса 1U.
Передняя панель устройства ESR-3100
Внешний вид передней панели ESR-3100 показан на рисунке 13.
Рисунок 13 – Передняя панель ESR-3100
В таблице 15 приведен перечень разъемов, светодиодных индикаторов и органов управления, расположенных на передней панели ESR-3100.
Таблица 15 – Описание разъемов, индикаторов и органов управления передней панели ESR-3100
№ | Элемент передней панели | Описание |
|---|---|---|
1 | Status | Индикатор текущего состояния устройства. |
Alarm | Индикатор наличия и уровня аварии устройства. | |
VPN | Индикатор режима работы в режиме VPN-шлюза. | |
Flash | Индикатор активности обмена с накопителем данных – SD-картой или USB Flash. | |
Power | Индикатор питания устройства. | |
Master | Индикатор работы устройства в failover-режимах (не используется в текущей версии). | |
Fan | Индикатор аварии вентиляторов. | |
RPS | Индикатор резервного источника электропитания. | |
2 | F | Функциональная кнопка для перезагрузки устройства и сброса к заводским настройкам:
|
| 3 | Console | Консольный порт RS-232 (RJ-45) для локального управления устройством. |
4 | SD | Разъем для установки SD-карт памяти. |
| 5 | USB1 | Порт USB 3.0 для подключения USB-устройств. |
| 6 | USB2 | Порт USB 3.0 для подключения USB-устройств. |
| 7 | [1 .. 8] | 8 портов Gigabit Ethernet 10/100/1000BASE-T (RJ-45). |
| 8 | XG1–XG8 | Слоты для установки трансиверов 10G SFP+/1G SFP. |
Задняя панель устройства ESR-3100
Внешний вид задней панели ESR-3100 приведен на рисунке ниже.
Рисунок 14 – Задняя панель ESR-3100
В таблице 16 приведен перечень разъемов, расположенных на задней панели ESR-3100.
Таблица 16 – Описание разъемов задней панели ESR-3100
№ | Описание |
|---|---|
1 | Основной источник питания. |
2 | Клемма для заземления устройства. |
3 | Съемные вентиляционные модули с возможностью горячей замены. |
| 4 | |
| 5 | Место для установки резервного источника питания. |
Боковые панели устройства ESR-3100
Внешний вид боковых панелей ESR-3100 приведен на рисунках 15 и 16.
Рисунок 15 – Правая боковая панель ESR-3100
Рисунок 16 – Левая боковая панель ESR-3100
На боковых панелях устройства расположены вентиляционные решетки, которые служат для отвода тепла. Не закрывайте вентиляционные отверстия посторонними предметами. Это может привести к перегреву компонентов устройства и вызвать нарушения в его работе. Рекомендации по установке устройства расположены в разделе Установка и подключение.
Конструктивное исполнение ESR-1700
Устройство выполнено в металлическом корпусе с возможностью установки в 19” конструктив, высота корпуса 1U.
Передняя панель устройства ESR-1700
Внешний вид передней панели ESR-1700 показан на рисунке 17.
Рисунок 17 – Передняя панель ESR-1700
В таблице 17 приведен перечень разъемов, светодиодных индикаторов и органов управления, расположенных на передней панели ESR-1700.
Таблица 17 – Описание разъемов, индикаторов и органов управления передней панели ESR-1700
№ | Элемент передней панели | Описание |
|---|---|---|
1 | HDD1 | Разъем для установки жесткого диска памяти (будет поддержан в будущих версиях). |
2 | HDD2 | Разъем для установки жесткого диска памяти (будет поддержан в будущих версиях). |
3 | USB1 | Порт для подключения USB-устройств. |
4 | USB2 | Порт для подключения USB-устройств. |
5 | Combo Ports [1 .. 4] | 4 порта Gigabit Ethernet 10/100/1000BASE-X (SFP). |
6 | XG1–XG8 | Слоты для установки трансиверов 10G SFP+/1G SFP. |
7 | Status | Индикатор текущего состояния устройства. |
Alarm | Индикатор наличия и уровня аварии устройства. | |
VPN | Индикатор режима работы в режиме VPN-шлюза (не используется в текущей версии). | |
Flash | Индикатор активности обмена с накопителем данных – SD-картой или USB Flash. | |
Power | Индикатор питания устройства. | |
Master | Индикатор работы устройства в failover-режимах (не используется в текущей версии). | |
Fan | Индикатор аварии вентиляторов. | |
RPS | Индикатор резервного источника электропитания. | |
8 | F | Функциональная кнопка для перезагрузки устройства и сброса к заводским настройкам:
|
9 | Console | Консольный порт RS-232 (RJ-45) для локального управления устройством. |
10 | OOB | Ethernet-порт используется только для обновления программного обеспечения через загрузчик U-Boot. Данный порт не используется для удаленного доступа и управления. |
Задняя панель устройства ESR-1700
Внешний вид задней панели ESR-1700 приведен на рисунке ниже.
Рисунок 18 – Задняя панель ESR-1700
В таблице 18 приведен перечень разъемов, расположенных на задней панели ESR-1700.
Таблица 18 – Описание разъемов задней панели ESR-1700
№ | Описание |
|---|---|
1 | Клемма для заземления устройства. |
2 | Съемные вентиляционные модули с возможностью горячей замены. |
3 | Основной источник питания. |
4 | Место для установки резервного источника питания. |
Боковые панели устройства ESR-1700
Внешний вид боковых панелей ESR-1700 приведен на рисунках 19 и 20.
Рисунок 19 – Правая боковая панель ESR-1700
Рисунок 20 – Левая боковая панель ESR-1700
На боковых панелях устройства расположены вентиляционные решетки, которые служат для отвода тепла. Не закрывайте вентиляционные отверстия посторонними предметами. Это может привести к перегреву компонентов устройства и вызвать нарушения в его работе. Рекомендации по установке устройства расположены в разделе Установка и подключение.
Конструктивное исполнение ESR-1511 rev.B, ESR-1511, ESR-1500
Устройство выполнено в металлическом корпусе с возможностью установки в 19” конструктив, высота корпуса 1U.
Передняя панель устройства ESR-1511 rev.B
Внешний вид передней панели ESR-1511 rev.B показан на рисунке 21.
В таблице 19 приведен перечень разъемов, светодиодных индикаторов и органов управления, расположенных на передней панели ESR-1511 rev.B.
Таблица 19 – Описание разъемов, индикаторов и органов управления передней панели ESR-1511
№ | Элемент передней панели | Описание |
|---|---|---|
1 | Status | Индикатор текущего состояния устройства. |
Alarm | Индикатор наличия и уровня аварии устройства. | |
VPN | Индикатор режима работы в режиме VPN-шлюза (не используется в текущей версии). | |
Flash | Индикатор активности обмена с накопителем данных – SD-картой или USB Flash. | |
Power | Индикатор питания устройства. | |
Master | Индикатор работы устройства в failover-режимах (не используется в текущей версии). | |
Fan | Индикатор аварии вентиляторов. | |
RPS | Индикатор резервного источника электропитания. | |
2 | Console | Консольный порт RS-232 (RJ-45) для локального управления устройством. |
3 | OOB | Ethernet-порт используется только для обновления программного обеспечения через загрузчик U-Boot. Данный порт не используется для удаленного доступа и управления. |
4 | SD | Разъем для установки SD-карт памяти. |
5 | USB | Порт для подключения USB-устройств. |
6 | F | Функциональная кнопка для перезагрузки устройства и сброса к заводским настройкам:
|
7 | Ethernet | 4 порта Ethernet 10/100/1000BASE-T. |
8 | Combo Ports [1 .. 4] | 4 порта Gigabit Ethernet 10/100/1000BASE-X (SFP). |
9 | XG1–XG4 | Слоты для установки трансиверов 10G SFP+/1G SFP. |
| 10 | XLG1–XLG2 | Слоты для установки трансиверов 40G QSFP+. |
Передняя панель устройства ESR-1511
Внешний вид передней панели ESR-1511 показан на рисунке 22.
Рисунок 22 – Передняя панель ESR-1511
В таблице 20 приведен перечень разъемов, светодиодных индикаторов и органов управления, расположенных на передней панели ESR-1511.
Таблица 20 – Описание разъемов, индикаторов и органов управления передней панели ESR-1511
№ | Элемент передней панели | Описание |
|---|---|---|
1 | Status | Индикатор текущего состояния устройства. |
Alarm | Индикатор наличия и уровня аварии устройства. | |
VPN | Индикатор режима работы в режиме VPN-шлюза (не используется в текущей версии). | |
Flash | Индикатор активности обмена с накопителем данных – SD-картой или USB Flash. | |
Power | Индикатор питания устройства. | |
Master | Индикатор работы устройства в failover-режимах (не используется в текущей версии). | |
Fan | Индикатор аварии вентиляторов. | |
RPS | Индикатор резервного источника электропитания. | |
2 | Console | Консольный порт RS-232 (RJ-45) для локального управления устройством. |
3 | OOB | Ethernet-порт используется только для обновления программного обеспечения через загрузчик U-Boot. Данный порт не используется для удаленного доступа и управления. |
4 | SD | Разъем для установки SD-карт памяти. |
5 | USB1 | Порт для подключения USB-устройств. |
6 | F | Функциональная кнопка для перезагрузки устройства и сброса к заводским настройкам:
|
7 | USB2 | Порт для подключения USB-устройств. |
8 | Ethernet | 4 порта Ethernet 10/100/1000BASE-T. |
9 | Combo Ports [1 .. 4] | 4 порта Gigabit Ethernet 10/100/1000BASE-X (SFP). |
10 | XG1–XG4 | Слоты для установки трансиверов 10G SFP+/1G SFP. |
| 11 | XLG1–XLG2 | Слоты для установки трансиверов 40G QSFP+. |
Передняя панель устройства ESR-1500
Внешний вид передней панели ESR-1500 показан на рисунке 23.
Рисунок 23 – Передняя панель ESR-1500
В таблице 21 приведен перечень разъемов, светодиодных индикаторов и органов управления, расположенных на передней панели ESR-1500.
Таблица 21 – Описание разъемов, индикаторов и органов управления передней панели ESR-1500
№ | Элемент передней панели | Описание |
|---|---|---|
1 | Status | Индикатор текущего состояния устройства. |
Alarm | Индикатор наличия и уровня аварии устройства. | |
VPN | Индикатор режима работы в режиме VPN-шлюза (не используется в текущей версии). | |
Flash | Индикатор активности обмена с накопителем данных – SD-картой или USB Flash. | |
Power | Индикатор питания устройства. | |
Master | Индикатор работы устройства в failover-режимах (не используется в текущей версии). | |
Fan | Индикатор аварии вентиляторов. | |
RPS | Индикатор резервного источника электропитания. | |
2 | Console | Консольный порт RS-232 (RJ-45) для локального управления устройством. |
3 | OOB | Ethernet-порт используется только для обновления программного обеспечения через загрузчик U-Boot. Данный порт не используется для удаленного доступа и управления. |
4 | SD | Разъем для установки SD-карт памяти. |
5 | USB1 | Порт для подключения USB-устройств. |
6 | F | Функциональная кнопка для перезагрузки устройства и сброса к заводским настройкам:
|
7 | USB2 | Порт для подключения USB-устройств. |
8 | Ethernet | 4 порта Ethernet 10/100/1000BASE-T. |
9 | Combo Ports [1 .. 4] | 4 порта Gigabit Ethernet 10/100/1000BASE-X (SFP). |
10 | XG1–XG4 | Слоты для установки трансиверов 10G SFP+/1G SFP. |
Задняя панель устройств ESR-1511 rev.B, ESR-1511, ESR-1500
Внешний вид задней панели ESR-1511 rev.B, ESR-1511, ESR-1500 приведен на рисунке 24.
Рисунок 24 – Задняя панель ESR-1511 rev.B, ESR-1511, ESR-1500
В таблице 22 приведен перечень разъемов, расположенных на задней панели ESR-1511 rev.B, ESR-1511, ESR-1500.
Таблица 22 – Описание разъемов задней панели ESR-1511 rev.B, ESR-1511, ESR-1500
№ | Описание |
|---|---|
1 | Основной источник питания. |
2 | Клемма для заземления устройства. |
3 | Съемные вентиляционные модули с возможностью горячей замены. |
4 | Место для установки резервного источника питания. |
Боковые панели устройств ESR-1511 rev.B, ESR-1511, ESR-1500
Внешний вид боковых панелей ESR-1511 rev.B, ESR-1511, ESR-1500 приведен на рисунках 25 и 26.
Рисунок 25 – Правая боковая панель ESR-1511 rev.B, ESR-1511, ESR-1500
Рисунок 26 – Левая боковая панель ESR-1511 rev.B, ESR-1511, ESR-1500
На боковых панелях устройства расположены вентиляционные решетки, которые служат для отвода тепла. Не закрывайте вентиляционные отверстия посторонними предметами. Это может привести к перегреву компонентов устройства и вызвать нарушения в его работе. Рекомендации по установке устройства расположены в разделе Установка и подключение.
Конструктивное исполнение ESR-1200, ESR-1000
Устройство выполнено в металлическом корпусе с возможностью установки в 19” конструктив, высота корпуса 1U.
Передняя панель устройства ESR-1200
Внешний вид передней панели ESR-1200 показан на рисунке 27.
Рисунок 27 – Передняя панель ESR-1200
В таблице 23 приведен перечень разъемов, светодиодных индикаторов и органов управления, расположенных на передней панели ESR-1200.
Таблица 23 – Описание разъемов, индикаторов и органов управления передней панели ESR-1200
№ | Элемент передней панели | Описание |
|---|---|---|
1 | SD | Разъем для установки SD-карт памяти. |
2 | USB1 | Порт для подключения USB-устройств. |
3 | USB2 | Порт для подключения USB-устройств. |
4 | [1 .. 12] | 12 портов Gigabit Ethernet 10/100/1000BASE-T (RJ-45). |
5 | Combo Ports | 4 порта Gigabit Ethernet 10/100/1000BASE-X (SFP). |
6 | XG1–XG8 | Слоты для установки трансиверов 10G SFP+/1G SFP. |
7 | Status | Индикатор текущего состояния устройства. |
Alarm | Индикатор наличия и уровня аварии устройства. | |
HA | Индикатор режима работы в режиме НА. | |
Flash | Индикатор активности обмена с накопителем данных – SD-картой или USB Flash. | |
Power | Индикатор питания устройства. | |
Master | Индикатор работы устройства в failover-режимах. | |
Fan | Индикатор аварии вентиляторов. | |
RPS | Индикатор резервного источника электропитания. | |
8 | F | Функциональная кнопка для перезагрузки устройства и сброса к заводским настройкам:
|
9 | Console | Консольный порт RS-232 (RJ-45) для локального управления устройством. |
Передняя панель устройства ESR-1000
Внешний вид передней панели ESR-1000 показан на рисунке 28.
Рисунок 28 – Передняя панель ESR-1000
В таблице 24 приведен перечень разъемов, светодиодных индикаторов и органов управления, расположенных на передней панели ESR-1000.
Таблица 24 – Описание разъемов, индикаторов и органов управления передней панели ESR-1000
№ | Элемент передней панели | Описание |
|---|---|---|
1 | SD | Разъем для установки SD-карт памяти. |
2 | USB1 | Порт для подключения USB-устройств. |
3 | USB2 | Порт для подключения USB-устройств. |
4 | XG1, XG2 | Слоты для установки трансиверов 10G SFP+/1G SFP. |
5 | [1 .. 24] | 24 порта Gigabit Ethernet 10/100/1000BASE-T (RJ-45). |
6 | Status | Индикатор текущего состояния устройства. |
Alarm | Индикатор наличия и уровня аварии устройства. | |
VPN | Индикатор наличия активных VPN-сессий. | |
Flash | Индикатор активности обмена с накопителем данных – SD-картой или USB Flash. | |
Power | Индикатор питания устройства. | |
Master | Индикатор работы устройства в failover-режимах. | |
Fan | Индикатор аварии вентиляторов. | |
RPS | Индикатор резервного источника электропитания. | |
7 | F | Функциональная кнопка для перезагрузки устройства и сброса к заводским настройкам:
|
8 | Console | Консольный порт RS-232 (RJ-45) для локального управления устройством. |
Задняя панель устройств ESR-1200, ESR-1000
Внешний вид задней панели ESR-1200, ESR-1000 приведен на рисунке ниже.
На рисунке показана комплектация маршрутизатора с одним источником питания переменного тока.
Рисунок 29 – Задняя панель ESR-1200, ESR-1000
В таблице 25 приведен перечень разъемов, расположенных на задней панели ESR-1200, ESR-1000.
Таблица 25 – Описание разъемов задней панели ESR-1200, ESR-1000
№ | Описание |
|---|---|
1 | Основной источник питания. |
2 | Место для установки резервного источника питания. |
3 | Съемные вентиляционные модули с возможностью горячей замены. |
4 | Клемма для заземления устройства. |
Боковые панели устройств ESR-1200, ESR-1000
Внешний вид боковых панелей ESR-1200, ESR-1000 приведен на рисунках 30 и 31.
Рисунок 30 – Правая боковая панель ESR-1200, ESR-1000
Рисунок 31 – Левая боковая панель ESR-1200, ESR-1000
На боковых панелях устройства расположены вентиляционные решетки, которые служат для отвода тепла. Не закрывайте вентиляционные отверстия посторонними предметами. Это может привести к перегреву компонентов устройства и вызвать нарушения в его работе. Рекомендации по установке устройства расположены в разделе Установка и подключение.
Конструктивное исполнение ESR-200, ESR-100
Устройство выполнено в металлическом корпусе с возможностью установки в 19” конструктив, высота корпуса 1U.
Передняя панель устройств ESR-200, ESR-100
Внешний вид передней панели ESR-200 показан на рисунке 32.
Рисунок 32 – Передняя панель ESR-200
Внешний вид передней панели ESR-100 показан на рисунке 33.
Рисунок 33 – Передняя панель ESR-100
В таблице 26 приведен перечень разъемов, светодиодных индикаторов и органов управления, расположенных на передней панели ESR-200, ESR-100.
Таблица 26 – Описание разъемов, индикаторов и органов управления передней панели ESR-200, ESR-100
№ | Элемент передней панели | Описание |
|---|---|---|
1 | SD | Разъем для установки SD-карт памяти. |
2 | USB1, USB2 | 2 порта для подключения USB-устройств. |
3 | [1 .. 4] | 4 порта Gigabit Ethernet 10/100/1000BASE-T (RJ-45). |
4 | Combo Ports | 4 порта Gigabit Ethernet 10/100/1000BASE-X (SFP). |
5 | Power | Индикатор питания устройства. |
Status | Индикатор текущего состояния устройства. | |
Alarm | Индикатор наличия и уровня аварии устройства. | |
Fan | Индикатор аварии вентиляторов. | |
6 | F | Функциональная кнопка для перезагрузки устройства и сброса к заводским настройкам:
|
7 | Console | Консольный порт RS-232 (RJ-45) для локального управления устройством. |
8 | 110-250 VAC | Источник питания. |
Задняя панель устройств ESR-200, ESR-100
Внешний вид задней панели ESR-200, ESR-100 приведен на рисунке 34.
Рисунок 34 – Задняя панель ESR-200, ESR-100
В таблице 27 приведен перечень разъемов, расположенных на задней панели ESR-200, ESR-100.
Таблица 27 – Описание разъемов задней панели ESR-200, ESR-100
№ | Описание |
|---|---|
1 | Клемма для заземления устройства. |
2 | Вентиляционный модуль. |
Боковые панели устройств ESR-200, ESR-100
Внешний вид боковых панелей ESR-200, ESR-100 приведен на рисунках 35 и 36.
Рисунок 35 – Правая боковая панель ESR-200, ESR-100
Рисунок 36 – Левая боковая панель ESR-200, ESR-100
Конструктивное исполнение ESR-31
Устройство выполнено в металлическом корпусе с возможностью установки в 19” конструктив, высота корпуса 1U.
Передняя панель устройства ESR-31
Внешний вид передней панели ESR-31 показан на рисунке 37.
Рисунок 37 – Передняя панель ESR-31
В таблице 24 приведен перечень разъемов, светодиодных индикаторов и органов управления, расположенных на передней панели ESR-31.
Таблица 24 – Описание разъемов, индикаторов и органов управления передней панели ESR-31
№ | Элемент передней панели | Описание |
|---|---|---|
1 | Status | Индикатор текущего состояния устройства. |
Alarm | Индикатор наличия и уровня аварии устройства. | |
User | Индикатор, использующийся для пользовательских сценариев, которые можно назначить в режиме конфигурирования устройства. | |
Flash | Индикатор активности обмена с накопителем данных – microSD-картой или USB Flash. | |
Power | Индикатор питания устройства. | |
Master | Индикатор работы устройства в failover-режимах (не используется в текущей версии). | |
Fan | Индикатор аварии вентиляторов. | |
RPS | Индикатор резервного источника электропитания. | |
2 | F | Функциональная кнопка для перезагрузки устройства и сброса к заводским настройкам:
|
| 3 | microSD | Разъем для установки microSD-карты памяти. |
| 4 | USB1 | Порт USB 2.0 для подключения USB-устройств. |
| 5 | USB2 | Порт USB 3.0 для подключения USB-устройств. |
| 6 | Console | Консольный порт RS-232 (RJ-45) для локального управления устройством. |
| 7 | RS-232 | 3 последовательных порта. |
| 8 | [1 .. 8] | 8 портов Gigabit Ethernet 10/100/1000BASE-T (RJ-45). |
| 9 | Optical Port | 6 портов Gigabit Ethernet 10/100/1000BASE-X (SFP). |
| 10 | XG1 – XG2 | Слоты для установки трансиверов 10G SFP+/1G SFP. |
Задняя панель устройств ESR-31
Внешний вид задней панели ESR-31 показан на рисунке 38.
Рисунок 38 – Задняя панель ESR-31
В таблице 25 приведен перечень разъемов, расположенных на задней панели ESR-31.
Таблица 25 – Описание разъемов задней панели ESR-31
№ | Описание |
|---|---|
1 | Съемные вентиляционные модули с возможностью горячей замены. |
2 | Клемма для заземления устройства. |
Боковые панели устройства ESR-31
Внешний вид боковых панелей ESR-31 приведен на рисунках 39 и 40.
Рисунок 39 – Левая панель ESR-31
Рисунок 40 – Правая панель ESR-31
На боковых панелях устройства расположены вентиляционные решетки, которые служат для отвода тепла. Не закрывайте вентиляционные отверстия посторонними предметами. Это может привести к перегреву компонентов устройства и вызвать нарушения в его работе. Рекомендации по установке устройства расположены в разделе Установка и подключение.
Конструктивное исполнение ESR-21
Устройство выполнено в металлическом корпусе с возможностью установки в 19” конструктив, высота корпуса 1U.
Передняя панель устройства ESR-21
Внешний вид передней панели ESR-21 показан на рисунке 41.
Рисунок 41 – Передняя панель ESR-21
В таблице 28 приведен перечень разъемов, светодиодных индикаторов и органов управления, расположенных на передней панели ESR-21.
Таблица 28 – Описание разъемов, индикаторов и органов управления передней панели ESR-21
№ | Элемент передней панели | Описание |
|---|---|---|
1 | 220V АC | Источник питания. |
2 | Power | Индикатор питания устройства. |
Status | Индикатор текущего состояния устройства. | |
Alarm | Индикатор наличия и уровня аварии устройства. | |
HA | Индикатор работы в режиме HA (не используется в текущей версии). | |
3 | F | Функциональная кнопка для перезагрузки устройства и сброса к заводским настройкам:
|
4 | SD | Разъем для установки SD-карт памяти. |
5 | USB1 | Разъем USB 2.0 для подключения внешних USB-устройств. |
6 | USB2 | Разъем USB 3.0 для подключения внешних USB-устройств. |
7 | Console | Консольный порт RS-232 (RJ-45) для локального управления устройством. |
8 | RS-232 | 3 последовательных порта. |
9 | [1 .. 8] | 8 портов Gigabit Ethernet 10/100/1000BASE-T (RJ-45). |
10 | Optical Port | 4 порта Gigabit Ethernet 10/100/1000BASE-X (SFP). |
Задняя панель устройств ESR-21
Внешний вид задней панели ESR-21 показан на рисунке 42.
Рисунок 42 – Задняя панель ESR-21
В таблице 29 приведен перечень разъемов, расположенных на задней панели ESR-21.
Таблица 29 – Описание разъемов задней панели ESR-21
№ | Описание |
|---|---|
1 | Клемма для заземления устройства. |
Боковые панели устройства ESR-21
Внешний вид боковых панелей ESR-21 приведен на рисунках 43 и 44.
Рисунок 43 – Левая боковая панель ESR-21
Рисунок 44 – Правая боковая панель ESR-21
На боковых панелях устройства расположены вентиляционные решетки, которые служат для отвода тепла. Не закрывайте вентиляционные отверстия посторонними предметами. Это может привести к перегреву компонентов устройства и вызвать нарушения в его работе. Рекомендации по установке устройства расположены в разделе Установка и подключение.
Конструктивное исполнение ESR-30, ESR-20
Устройство выполнено в металлическом корпусе с возможностью установки в 19” конструктив, высота корпуса 1U.
Передняя панель устройства ESR-30
Внешний вид передней панели ESR-30 показан на рисунке 45.
Рисунок 45 – Передняя панель ESR-30
В таблице 30 приведен перечень разъемов, светодиодных индикаторов и органов управления, расположенных на передней панели ESR-30.
Таблица 30 – Описание разъемов, индикаторов и органов управления передней панели ESR-30
№ | Элемент передней панели | Описание |
|---|---|---|
1 | 110-250 V АC | Источник питания. |
2 | Power | Индикатор питания устройства. |
Status | Индикатор текущего состояния устройства. | |
Alarm | Индикатор наличия и уровня аварии устройства. | |
User | Индикатор, использующийся для пользовательских сценариев, которые можно назначить в режиме конфигурирования устройства. | |
3 | F | Функциональная кнопка для перезагрузки устройства и сброса к заводским настройкам:
|
4 | Console | Консольный порт RS-232 (RJ-45) для локального управления устройством. |
5 | microSD | Разъем для установки microSD-карт памяти. |
6 | USB1 | Разъем USB 2.0 для подключения внешних USB-устройств. |
7 | USB2 | Разъем USB 3.0 для подключения внешних USB-устройств. |
8 | [1 .. 4] | 4 порта Ethernet 10/100/1000BASE-T. |
9 | 1, 2 | 2 порта 10GBASE-R (SPF+)/1000BASE-X. |
Передняя панель устройства ESR-20
Внешний вид передней панели ESR-20 показан на рисунке 46.
Рисунок 46 – Передняя панель ESR-20
В таблице 31 приведен перечень разъемов, светодиодных индикаторов и органов управления, расположенных на передней панели ESR-20.
Таблица 31 – Описание разъемов, индикаторов и органов управления передней панели ESR-20
№ | Элемент передней панели | Описание |
|---|---|---|
1 | 110-250 VАC | Источник питания. |
2 | Power | Индикатор питания устройства. |
Status | Индикатор текущего состояния устройства. | |
Alarm | Индикатор наличия и уровня аварии устройства. | |
HA | Индикатор работы в режиме HA (не используется в текущей версии). | |
3 | F | Функциональная кнопка для перезагрузки устройства и сброса к заводским настройкам:
|
4 | Console | Консольный порт RS-232 (RJ-45) для локального управления устройством. |
5 | SD | Разъем для установки SD-карт памяти. |
6 | USB1 | Разъем USB 2.0 для подключения внешних USB-устройств. |
7 | USB2 | Разъем USB 3.0 для подключения внешних USB-устройств. |
8 | 1, 2 | 2 порта Gigabit Ethernet 10/100/1000BASE-T (RJ-45). |
9 | [1 .. 4] | 2 Combo-порта Ethernet 10/100/1000BASE-X/10/100/1000BASE-T. |
Задняя панель устройств ESR-30, ESR-20
Внешний вид задней панели ESR-30, ESR-20 показан на рисунке 47.
Рисунок 47 – Задняя панель ESR-30, ESR-20
В таблице 32 приведен перечень разъемов, расположенных на задней панели ESR-30, ESR-20.
Таблица 32 – Описание разъемов задней панели ESR-30, ESR-20
№ | Описание |
|---|---|
1 | Клемма для заземления устройства. |
Боковые панели устройств ESR-30, ESR-20
Внешний вид боковых панелей ESR-30, ESR-20 приведен на рисунках 48 и 49.
Рисунок 48 – Левая боковая панель ESR-30, ESR-20
Рисунок 49 – Правая боковая панель ESR-30, ESR-20
На боковых панелях устройства расположены вентиляционные решетки, которые служат для отвода тепла. Не закрывайте вентиляционные отверстия посторонними предметами. Это может привести к перегреву компонентов устройства и вызвать нарушения в его работе. Рекомендации по установке устройства расположены в разделе Установка и подключение.
Конструктивное исполнение ESR-15VF
Устройство выполнено в металлическом корпусе с возможностью установки в 19” конструктив, высота корпуса 1U.
Передняя панель устройства ESR-15VF
Внешний вид передней панели ESR-15VF показан на рисунке 50.
Рисунок 50 – Передняя панель ESR-15VF
В таблице 35 приведен перечень разъемов, светодиодных индикаторов и органов управления, расположенных на передней панели ESR-15VF.
Таблица 35 – Описание разъемов, индикаторов и органов управления передней панели ESR-15VF
№ | Элемент передней панели | Описание | |||
|---|---|---|---|---|---|
1 | 110-250 V АC | Источник питания. | |||
2 | Power | Индикатор питания устройства. | |||
Status | Индикатор текущего состояния устройства. | ||||
Alarm | Индикатор наличия и уровня аварии устройства. | ||||
User | Индикатор, использующийся для пользовательских сценариев, которые можно назначить в режиме конфигурирования устройства. | ||||
3 | Console | Консольный порт RS-232 (RJ-45) для локального управления устройством. | |||
| 4 | F | Функциональная кнопка для перезагрузки устройства и сброса к заводским настройкам:
| |||
| 5 | USB1 | Разъем для подключения внешних USB-устройств. | |||
| USB2 | Разъем для подключения внешних USB-устройств. | ||||
| 6 | 1, 2, 3, 4 | Индикатор для внутренних абонентских терминалов. | |||
7 | FXS | 4 разъема для внутренних абонентских терминалов. | |||
| 8 | [1 .. 8] | 4 порта Gigabit Ethernet 10/100/1000BASE-T (RJ-45). | |||
9 | 9, 10 | 2 порта Gigabit Ethernet 1000BASE-X SFP. | |||
Задняя панель устройств ESR-15VF
Внешний вид задней панели ESR-15VF показан на рисунке 51.
Рисунок 51 – Задняя панель ESR-15VF
В таблице 36 приведен перечень разъемов, расположенных на задней панели ESR-15VF.
Таблица 36 – Описание разъемов задней панели ESR-15VF
№ | Описание |
|---|---|
1 | Клемма для заземления устройства. |
Боковые панели устройства ESR-15VF
Внешний вид боковых панелей ESR-15VF приведен на рисунках 52 и 53.
Рисунок 52 – Левая панель ESR-15VF
Рисунок 53 – Правая панель ESR-15VF
На боковых панелях устройства расположены вентиляционные решетки, которые служат для отвода тепла. Не закрывайте вентиляционные отверстия посторонними предметами. Это может привести к перегреву компонентов устройства и вызвать нарушения в его работе. Рекомендации по установке устройства расположены в разделе Установка и подключение.
Конструктивное исполнение ESR-15R
Устройство выполнено в металлическом корпусе с возможностью установки в 19” конструктив, высота корпуса 1U.
Передняя панель устройства ESR-15R
Внешний вид передней панели ESR-15R показан на рисунке 54.
Рисунок 54 – Передняя панель ESR-15R
В таблице 33 приведен перечень разъемов, светодиодных индикаторов и органов управления, расположенных на передней панели ESR-15R.
Таблица 33 – Описание разъемов, индикаторов и органов управления передней панели ESR-15R
№ | Элемент передней панели | Описание | |||
|---|---|---|---|---|---|
1 | 110-250V АC | Источник питания. | |||
2 | Power | Индикатор питания устройства. | |||
Status | Индикатор текущего состояния устройства. | ||||
Alarm | Индикатор наличия и уровня аварии устройства. | ||||
User | Индикатор, использующийся для пользовательских сценариев, которые можно назначить в режиме конфигурирования устройства. | ||||
3 | Console | Консольный порт RS-232 (RJ-45) для локального управления устройством. | |||
| 4 | F | Функциональная кнопка для перезагрузки устройства и сброса к заводским настройкам:
| |||
5 | USB1 | Разъем для подключения внешних USB-устройств. | |||
| 6 | USB2 | Разъем для подключения внешних USB-устройств. | |||
7 | [1 .. 4] | 4 порта Gigabit Ethernet 10/100/1000BASE-T (RJ-45). | |||
8 | 5, 6 | 2 порта Gigabit Ethernet 1000BASE-X SFP. | |||
Задняя панель устройств ESR-15R
Внешний вид задней панели ESR-15R показан на рисунке 55.
Рисунок 55 – Задняя панель ESR-15R
В таблице 34 приведен перечень разъемов, расположенных на задней панели ESR-15R.
Таблица 34 – Описание разъемов задней панели ESR-15R
№ | Описание |
|---|---|
1 | Клемма для заземления устройства. |
Боковые панели устройства ESR-15R
Внешний вид боковых панелей ESR-15R приведен на рисунках 56 и 57.
Рисунок 56 – Левая боковая панель ESR-15R
Рисунок 57 – Правая боковая панель ESR-15R
На боковых панелях устройства расположены вентиляционные решетки, которые служат для отвода тепла. Не закрывайте вентиляционные отверстия посторонними предметами. Это может привести к перегреву компонентов устройства и вызвать нарушения в его работе. Рекомендации по установке устройства расположены в разделе Установка и подключение.
Конструктивное исполнение ESR-15
Задняя панель устройства ESR-15
Внешний вид задней панели ESR-15 показан на рисунке 58.
Рисунок 58 – Задняя панель ESR-15
В таблице 35 приведен перечень разъемов, светодиодных индикаторов и органов управления, расположенных на задней панели ESR-15.
Таблица 35 – Описание разъемов, индикаторов и органов управления задней панели ESR-15
№ | Элемент передней панели | Описание |
|---|---|---|
1 | F | Функциональная кнопка для перезагрузки устройства и сброса к заводским настройкам:
|
2 | 12V | Разъем для подключения адаптера питания. |
3 | Optical Ports | 2 порта Gigabit Ethernet –1000BASE-X (SFP). |
4 | USB1, USB2 | 2 разъема для подключения внешних USB-устройств. |
5 | Console | Консольный порт RS-232 (RJ-45) для локального управления устройством. |
6 | [1 .. 4] | 4 порта Gigabit Ethernet 10/100/1000BASE-T (RJ-45) |
Верхняя панель устройства ESR-15
Внешний вид верхней панели ESR-15 показан на рисунке 59.
Рисунок 59 – Верхняя панель ESR-15
В таблице 36 приведен перечень светодиодных индикаторов, расположенных на верхней панели ESR-15.
Таблица 36 – Описание индикаторов верхней панели ESR-15
№ | Элемент верхней панели | Описание |
|---|---|---|
1 | Power | Индикатор питания и статуса работы устройства. |
2 | - | Индикатор не используется. |
3 | USB1, USB2 | Индикаторы работы внешних USB-устройств. |
4 | [1 .. 2] | Индикаторы работы оптических интерфейсов. |
| 5 | [3 .. 6] | Индикаторы работы Ethernet-портов. |
Конструктивное исполнение ESR-12VF
Устройство выполнено в металлическом корпусе с возможностью установки в 19” конструктив, высота корпуса 1U.
Передняя панель устройства ESR-12VF
Внешний вид передней панели ESR-12VF показан на рисунке 60.
Рисунок 60 – Передняя панель ESR-12VF
В таблице 37 приведен перечень разъемов, светодиодных индикаторов и органов управления, расположенных на передней панели ESR-12VF.
Таблица 37 – Описание разъемов, индикаторов и органов управления передней панели ESR-12VF
№ | Элемент передней панели | Описание |
|---|---|---|
1 | 220 V АC | Источник питания. |
2 | Power | Индикатор питания устройства. |
3 | Console | Консольный порт RS-232 (RJ-45) для локального управления устройством. |
4 | F | Функциональная кнопка для перезагрузки устройства и сброса к заводским настройкам:
|
5 | USB1, USB2 | 2 разъема USB для подключения внешних USB-устройств. |
6 | FXO | Индикатор внешней абонентской линии от ТфОП. |
1, 2, 3 | Индикатор для внутренних абонентских терминалов. | |
7 | FXO | 1 разъем FXO для подключения внешней абонентской линии от ТфОП. |
8 | FXS 1, FXS 2, FXS 3 | 3 разъема для внутренних абонентских терминалов. |
9 | [1 .. 8] | 8 портов Gigabit Ethernet 10/100/1000BASE-T (RJ-45). |
10 | Optical Port | 1 порт Gigabit Ethernet-100/1000BASE-X (SFP). |
11 | 1, 2 | Индикаторы работы оптических интерфейсов. |
Задняя панель устройства ESR-12VF
Внешний вид задней панели ESR-12VF показан на рисунке 61.
Рисунок 61 – Задняя панель ESR-12VF
В таблице 38 приведен перечень разъемов, расположенных на задней панели ESR-12VF.
Таблица 38 – Описание разъемов задней панели ESR-12VF
№ | Описание |
|---|---|
1 | Клемма для заземления устройства. |
Боковые панели устройства ESR-12VF
Внешний вид боковых панелей ESR-12VF приведен на рисунках 62 и 63.
Рисунок 62 – Левая боковая панель ESR-12VF
Рисунок 63 – Правая боковая панель ESR-12VF
На боковых панелях устройства расположены вентиляционные решетки, которые служат для отвода тепла. Не закрывайте вентиляционные отверстия посторонними предметами. Это может привести к перегреву компонентов устройства и вызвать нарушения в его работе. Рекомендации по установке устройства расположены в разделе Установка и подключение.
Конструктивное исполнение ESR-12V
Устройство выполнено в металлическом корпусе с возможностью установки в 19” конструктив, высота корпуса 1U.
Передняя панель устройства ESR-12V
Внешний вид передней панели ESR-12V показан на рисунке 64.
Рисунок 64 – Передняя панель ESR-12V
В таблице 39 приведен перечень разъемов, светодиодных индикаторов и органов управления, расположенных на передней панели ESR-12V.
Таблица 39 – Описание разъемов, индикаторов и органов управления передней панели ESR-12V
№ | Элемент передней панели | Описание |
|---|---|---|
1 | 220V АC | Источник питания. |
2 | Power | Индикатор питания устройства. |
3 | Console | Консольный порт RS-232 (RJ-45) для локального управления устройством. |
4 | F | Функциональная кнопка для перезагрузки устройства и сброса к заводским настройкам:
|
5 | USB1, USB2 | 2 разъема USB для подключения внешних USB-устройств. |
6 | FXO | Индикатор внешней абонентской линии от ТфОП. |
1,2,3 | Индикатор для внутренних абонентских терминалов. | |
7 | FXO | 1 разъем FXO для подключения внешней абонентской линии от ТфОП. |
8 | FXS 1, FXS 2, FXS 3 | 3 разъема для внутренних абонентских терминалов. |
9 | [1 .. 8] | 8 портов Gigabit Ethernet 10/100/1000BASE-T (RJ-45). |
Задняя панель устройств ESR-12V
Внешний вид задней панели ESR-12V показан на рисунке 65.
Рисунок 65 – Задняя панель ESR-12V
В таблице 40 приведен перечень разъемов, расположенных на задней панели ESR-12V.
Таблица 40 – Описание разъемов задней панели ESR-12V
№ | Описание |
|---|---|
1 | Клемма для заземления устройства. |
Боковые панели устройства ESR-12V
Внешний вид боковых панелей ESR-12V приведен на рисунках 66 и 67.
Рисунок 66 – Левая боковая панель ESR-12V
Рисунок 67 – Правая боковая панель ESR-12V
На боковых панелях устройства расположены вентиляционные решетки, которые служат для отвода тепла. Не закрывайте вентиляционные отверстия посторонними предметами. Это может привести к перегреву компонентов устройства и вызвать нарушения в его работе. Рекомендации по установке устройства расположены в разделе Установка и подключение.
Конструктивное исполнение ESR-10
Задняя панель устройства ESR-10
Внешний вид задней панели ESR-10 показан на рисунке 68.
Рисунок 68 – Задняя панель ESR-10
В таблице 41 приведен перечень разъемов, светодиодных индикаторов и органов управления, расположенных на задней панели ESR-10.
Таблица 41 – Описание разъемов, индикаторов и органов управления задней панели ESR-10
№ | Элемент передней панели | Описание |
|---|---|---|
1 | ON/OFF | Кнопка включения/выключения питания. |
2 | 12V DC | Разъем для подключения адаптера питания. |
3 | Console | Консольный порт RS-232 (RJ-45) для локального управления устройством. |
4 | USB1, USB2 | 2 разъема для подключения внешних USB-устройств. |
5 | [1 .. 4] | 4 порта Gigabit Ethernet – 10/100/1000BASE-T (RJ-45). |
6 | Optical Ports | 2 порта Gigabit Ethernet –100/1000BASE-X (SFP). |
Боковые панели устройства ESR-10
Внешний вид боковой панели ESR-10 показан на рисунке 69.
Рисунок 69 – Боковая панель ESR-10
В таблице 42 приведен перечень органов управления, расположенных на боковой панели ESR-10.
Таблица 42 – Описание разъемов боковой панели ESR-10
№ | Элемент боковой панели | Описание |
|---|---|---|
1 | F | Функциональная кнопка для перезагрузки устройства и сброса к заводским настройкам:
|
Верхняя панель устройства ESR-10
Внешний вид верхней панели ESR-10 показан на рисунке 70.
Рисунок 70 – Верхняя панель маршрутизатора ESR-10
В таблице 43 приведен перечень светодиодных индикаторов, расположенных на верхней панели ESR-10.
Таблица 43 – Описание индикаторов верхней панели ESR-10
№ | Элемент верхней панели | Описание |
|---|---|---|
1 | Power | Индикатор питания и статуса работы устройства. |
2 | - | Индикатор не используется. |
3 | USB1, USB2 | Индикаторы работы внешних USB-устройств. |
4 | [1 .. 4] | Индикаторы работы Ethernet-портов. |
5 | [5 .. 6] | Индикаторы работы оптических интерфейсов. |
Световая индикация
Световая индикация ESR-1700, ESR-1200, ESR-1000
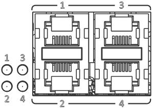
Состояние интерфейсов Ethernet отображается двумя светодиодными индикаторами – LINK/ACT зеленого цвета и SPEED янтарного цвета. Расположение светодиодных индикаторов интерфейсов показано ниже на рисунках 71 и 72. Значения световой индикации описаны в таблицах 44 и 45 соответственно.
Рисунок 71 – Расположение индикаторов разъема RJ-45
Рисунок 72 – Расположение индикаторов SFP/SFP+/SFP28-интерфейсов
Таблица 44 – Световая индикация состояния RJ-45 интерфейсов
Свечение индикатора SPEED | Свечение индикатора LINK/ACT | Состояние интерфейса Ethernet |
|---|---|---|
Выключен | Выключен | Порт выключен или соединение не установлено. |
Выключен | Горит постоянно зелёным | Установлено соединение на скорости 10 или 100 Мбит/с. |
Горит постоянно янтарным | Горит постоянно зелёным | Установлено соединение на скорости 1000 Мбит/с. |
X | Мигает | Идет передача данных. |
Таблица 45 – Световая индикация состояния SFP/SFP+/SFP28-интерфейсов
Свечение индикатора SPEED | Свечение индикатора LINK/ACT | Состояние интерфейса Ethernet |
|---|---|---|
Выключен | Выключен | Порт выключен или соединение не установлено. |
Выключен | Горит постоянно зелёным | Установлено соединение на скорости 1 Гбит/с. |
Горит постоянно янтарным | Горит постоянно зелёным | Установлено соединение на скорости 10 Гбит/с. |
X | Мигает | Идет передача данных. |
В следующей таблице приведено описание состояний системных индикаторов устройства и их значений.
Таблица 46 – Состояния системных индикаторов
Название индикатора | Функция индикатора | Состояние индикатора | Состояние устройства |
|---|---|---|---|
Status | Индикатор текущего состояния устройства. | Зеленый | Устройство работает нормально. |
Красный | Устройство находится в состоянии загрузки ПО. | ||
Alarm | Индикатор наличия и уровня аварии устройства. | - | - |
VPN | Индикатор наличия активных VPN-сессий. | - | - |
Flash | Индикатор активности обмена с накопителем данных: SD-картой или USB Flash. | Зеленый | Выполнение операций чтения/записи по команде «copy». |
Power | Индикатор питания устройства. | Зеленый | Питание устройства в норме. Основной источник питания, если он установлен, работает нормально. |
Оранжевый | Неработоспособность основного источника питания, авария или отсутствие первичной сети. | ||
Выключен | Отказ внутренних источников питания устройства. | ||
Master | Индикатор работы устройства в failover-режимах. | - | - |
Fan | Состояние вентилятора охлаждения. | Выключен | Все вентиляторы исправны. |
Красный | Отказ одного или более вентиляторов. Причиной возникновения аварии может быть неработоспособность хотя бы одного из вентиляторов – остановка или пониженная частота оборотов. | ||
RPS | Режим работы резервного источника питания. | Зеленый | Резервный источник установлен и исправен. |
Выключен | Резервный источник не установлен. | ||
Красный | Отсутствие первичного питания резервного источника или его неисправность. |
Световая индикация ESR-3300, ESR-3200L, ESR-3200, ESR-3100, ESR-1511, ESR-1500
Состояние интерфейсов Ethernet отображается двумя светодиодными индикаторами – LINK/ACT зеленого цвета и SPEED янтарного цвета. Расположение светодиодных индикаторов интерфейсов показано ниже на рисунках 73 и 74. Значения световой индикации описаны в таблицах 47 и 48 соответственно.
Рисунок 73 – Расположение индикаторов разъема RJ-45
Рисунок 74 – Расположение индикаторов состояния SFP/SFP+/SFP28-интерфейсов
Для модели ESR-3300 cостояние интерфейсов QSFP+/QSFP28 отображается четырьмя светодиодными индикаторами зеленого и янтарного цветов, состояние интерфейсов 25G-портов индицируется четырьмя светодиодными индикаторами, LINK/ACT зеленого цвета и SPEED янтарного цвета. Расположение светодиодов показано на рисунке 75. Значения световой индикации описаны в таблице 49.
Рисунок 75 – Расположение индикаторов QSFP+/QSFP28 интерфейса для ESR-3300
Таблица 47 – Световая индикация состояния RJ-45 интерфейсов
Свечение индикатора SPEED | Свечение индикатора LINK/ACT | Состояние интерфейса Ethernet |
|---|---|---|
Выключен | Выключен | Порт выключен или соединение не установлено. |
Выключен | Горит постоянно зелёным | Установлено соединение на скорости 10 или 100 Мбит/с. |
Горит постоянно янтарным | Горит постоянно зелёным | Установлено соединение на скорости 1000 Мбит/с. |
X | Мигает | Идет передача данных. |
1
Таблица 48 – Световая индикация состояния состояния SFP/SFP+/SFP28-интерфейсов
Свечение индикатора SPEED | Свечение индикатора LINK/ACT | Состояние интерфейса Ethernet |
|---|---|---|
Выключен | Выключен | Порт выключен или соединение не установлено. |
Выключен | Горит постоянно зелёным | Установлено соединение на скорости 1 Гбит/с. |
Горит постоянно янтарным | Горит постоянно зелёным | Установлено соединение на скорости 10 Гбит/с. |
X | Мигает | Идет передача данных. |
Таблица 49 – Световая индикация состояния QSFP+/QSFP28-интерфейсов
Состояние индикатора | Состояние интерфейса Ethernet | |||
|---|---|---|---|---|
Выключен | Выключен | Выключен | Выключен | Порт выключен или соединение не установлено. |
Горит постоянно зелёным | Выключен | Выключен | Выключен | Установлено соединение на скорости 40 Гбит/с. |
Горит постоянно зелёным | Выключен | Выключен | Горит постоянно янтарным | Установлено соединение на скорости 100 Гбит/с. |
Мигание | Х | Х | Х | Идет передача данных. |
В следующей таблице приведено описание состояний системных индикаторов устройства и их значений.
Таблица 50 – Состояния системных индикаторов
Название индикатора | Функция индикатора | Состояние индикатора | Состояние устройства |
|---|---|---|---|
Status | Индикатор текущего состояния устройства. | Зеленый | Устройство работает нормально. |
Мигает зеленым | Устройство находится в состоянии загрузки ПО. | ||
Alarm | Индикатор наличия и уровня аварии устройства. | - | - |
VPN | Индикатор наличия активных VPN-сессий. | - | - |
Flash | Индикатор активности обмена с накопителем данных: SD-картой или USB Flash. | Зеленый | Выполнение операций чтения/записи по команде «copy». |
Power | Индикатор питания устройства. | Зеленый | Питание устройства в норме. Основной источник питания, если он установлен, работает нормально. |
Красный | Неработоспособность основного источника питания, авария или отсутствие первичной сети. | ||
Выключен | Отказ внутренних источников питания устройства. | ||
Master | Индикатор работы устройства в failover-режимах. | - | - |
Fan | Состояние вентилятора охлаждения. | Выключен | Все вентиляторы исправны. |
Красный | Отказ одного или более вентиляторов. Причиной возникновения аварии может быть неработоспособность хотя бы одного из вентиляторов – остановка или пониженная частота оборотов. | ||
RPS | Режим работы резервного источника питания. | Зеленый | Резервный источник установлен и исправен. |
Выключен | Резервный источник не установлен. | ||
Красный | Отсутствие первичного питания резервного источника или его неисправность. |
Световая индикация ESR-200, ESR-100
Состояние интерфейсов Ethernet отображается двумя светодиодными индикаторами – LINK/ACT зеленого цвета и SPEED янтарного цвета. Расположение индикаторов RJ-45-интерфейса показано на рисунке 71. Расположение индикаторов SFP/SFP+-интерфейсов указано на рисунке 76. Значения световой индикации описаны в таблице 51.
Рисунок 76 – Расположение индикаторов состояния SFP/SFP+-интерфейсов
Таблица 51 – Световая индикация состояния интерфейсов Ethernet
Свечение индикатора SPEED | Свечение индикатора LINK/ACT | Состояние интерфейса Ethernet |
|---|---|---|
Выключен | Выключен | Порт выключен или соединение не установлено. |
Выключен | Горит постоянно зелёным | Установлено соединение на скорости 10 или 100 Мбит/с. |
Горит постоянно янтарным | Горит постоянно зелёным | Установлено соединение на скорости 1000 Мбит/с. |
X | Мигает | Идет передача данных. |
В следующей таблице приведено описание состояний системных индикаторов устройства и их значений.
Таблица 52 – Состояния системных индикаторов
Название индикатора | Функция индикатора | Состояние индикатора | Состояние устройства |
|---|---|---|---|
Status | Индикатор текущего состояния устройства. | Зеленый | Устройство работает нормально. |
Красный | Устройство находится в состоянии загрузки ПО. | ||
Alarm | Индикатор наличия и уровня аварии устройства(не поддерживается в текущей версии ПО). | - | - |
Power | Индикатор питания устройства. | Зеленый | Питание устройства в норме. Основной источник питания, если он установлен, работает нормально. |
Красный | Неработоспособность основного источника питания, авария или отсутствие первичной сети. | ||
Выключен | Отказ внутренних источников питания устройства. | ||
Fan | Состояние вентилятора охлаждения. | Выключен | Все вентиляторы исправны. |
Красный | Отказ одного или более вентиляторов. Причиной возникновения аварии может быть неработоспособность хотя бы одного из вентиляторов – остановка или пониженная частота оборотов. |
Световая индикация ESR-31, ESR-30
Состояние интерфейсов Ethernet отображается двумя светодиодными индикаторами – LINK/ACT зеленого цвета и SPEED янтарного цвета.
Таблица 53 – Световая индикация состояния интерфейсов Ethernet
Свечение индикатора SPEED | Свечение индикатора LINK/ACT | Состояние интерфейса Ethernet |
|---|---|---|
Выключен | Выключен | Порт выключен или соединение не установлено. |
Выключен | Горит постоянно зелёным | Установлено соединение на скорости 10 или 100 Мбит/с. |
Горит постоянно янтарным | Горит постоянно зелёным | Установлено соединение на скорости 1000 Мбит/с. |
X | Мигает | Идет передача данных. |
1
Рисунок 77 – Расположение индикаторов состояния SFP/SFP+-интерфейсов
Рисунок 78 – Расположение индикаторов разъема RJ-45
В следующей таблице приведено описание состояний системных индикаторов устройства и их значений.
Таблица 54 – Состояния системных индикаторов
Название индикатора | Функция индикатора | Состояние индикатора | Состояние устройства |
|---|---|---|---|
Power | Индикатор питания устройства. | Зеленый | Питание устройства в норме. Источник питания работает нормально, основное ПО прогружено. |
Красный | Не прогружено основное ПО. | ||
Выключен | Отказ внутренних источников питания устройства. | ||
Status | Индикатор текущего состояния устройства. | Зеленый | Устройство работает нормально. |
Мигает зеленым | Устройство находится в состоянии загрузки ПО. | ||
Alarm | Индикатор наличия и уровня аварии устройства. | - | - |
User | Индикатор, использующийся для пользовательских сценариев, которые можно назначить в режиме конфигурирования устройства. | - | - |
| Flash | Индикатор активности обмена с накопителем данных: SD-картой или USB Flash. | Зеленый | Выполнение операций чтения/записи по команде «copy». |
| Master | Индикатор работы устройства в failover-режимах (только для ESR-31). | - | - |
| Fan | Состояние вентилятора охлаждения (только для ESR-31). | Выключен | Все вентиляторы исправны. |
| Красный | Отказ одного или более вентиляторов. Причиной возникновения аварии может быть неработоспособность хотя бы одного из вентиляторов – остановка или пониженная частота оборотов. | ||
| RPS | Режим работы резервного источника питания (только для ESR-31). | Зеленый | Резервный источник установлен и исправен. |
| Выключен | Резервный источник не установлен. | ||
| Красный | Отсутствие первичного питания резервного источника или его неисправность. |
Световая индикация ESR-21, ESR-20
Состояние интерфейсов Ethernet отображается двумя светодиодными индикаторами – LINK/ACT зеленого цвета и SPEED янтарного цвета.
Таблица 55 – Световая индикация состояния интерфейсов Ethernet
Свечение индикатора SPEED | Свечение индикатора LINK/ACT | Состояние интерфейса Ethernet |
|---|---|---|
Выключен | Выключен | Порт выключен или соединение не установлено. |
Выключен | Горит постоянно зелёным | Установлено соединение на скорости 10 или 100 Мбит/с. |
Горит постоянно янтарным | Горит постоянно зелёным | Установлено соединение на скорости 1000 Мбит/с. |
X | Мигает | Идет передача данных. |
111111
Рисунок 79 – Расположение индикаторов состояния SFP/SFP+-интерфейсов
Рисунок 80 – Расположение индикаторов разъема RJ-45
В следующей таблице приведено описание состояний системных индикаторов устройства и их значений.
Таблица 56 – Состояния системных индикаторов
Название индикатора | Функция индикатора | Состояние индикатора | Состояние устройства |
|---|---|---|---|
Power | Индикатор питания устройства. | Зеленый | Питание устройства в норме. Источник питания работает нормально, основное ПО прогружено. |
Красный | Не прогружено основное ПО. | ||
Выключен | Отказ внутренних источников питания устройства. | ||
Status | Индикатор текущего состояния устройства. | Зеленый | Устройство работает нормально. |
Красный | Устройство находится в состоянии загрузки ПО. | ||
Alarm | Индикатор наличия и уровня аварии устройства. | - | - |
HA | Индикатор работы в режиме HA (не используется в текущей версии) | - | - |
Световая индикация ESR-15VF
Состояние интерфейсов Ethernet отображается двумя светодиодными индикаторами – LINK/ACT зеленого цвета и SPEED янтарного цвета. Состояние интерфейсов FXS отображается одним светодиодным индикатором зелёного цвета.
Таблица 57 – Световая индикация состояния медных интерфейсов
Свечение индикатора SPEED | Свечение индикатора LINK/ACT | Состояние интерфейса Ethernet |
|---|---|---|
Выключен | Выключен | Порт выключен или соединение не установлено. |
Выключен | Горит постоянно | Установлено соединение на скорости 10 или 100 Мбит/с. |
Горит постоянно | Горит постоянно | Установлено соединение на скорости 1000 Мбит/с. |
X | Мигает | Идет передача данных. |
Таблица 58 – Световая индикация состояния SFP-интерфейсов
Свечение индикатора RX/ACT | Свечение индикатора TX/ACT | Состояние интерфейса Ethernet |
|---|---|---|
Выключен | Выключен | Порт выключен или соединение не установлено. |
Горит постоянно | Горит постоянно | Соединение установлено. |
Мигает | X | Идет прием данных. |
X | Мигает | Идет передача данных. |
Таблица 59 – Световая индикация FXS-интерфейсов
Свечение индикатора | Состояние устройства |
|---|---|
Зеленый, горит постоянно | Телефонная трубка поднята (линия активна). |
Не горит | Телефонная трубка положена, нормальная работа. |
| Зеленый, в течение секунды мигает с частотой 20 Гц, затем 4 секунды пауза | На телефонный порт поступает входящий вызов. |
Зеленый, периодическое редкое мигание | Отсутствует регистрация абонентского порта на SIP-сервере. |
Рисунок 81 – Расположение индикаторов оптических интерфейсов
Рисунок 82 – Расположение индикаторов разъема RJ-45
Рисунок 83 – Расположение индикаторов FXS-интерфейсов
В таблице 60 приведено описание состояний системных индикаторов устройства и их значений.
Таблица 60 – Состояния системных индикаторов
Название индикатора | Функция индикатора | Состояние индикатора | Состояние устройства |
|---|---|---|---|
| Power | Индикатор питания устройства. | Зеленый | Питание устройства в норме. Источник питания работает нормально, основное ПО прогружено. |
| Красный | Не прогружено основное ПО. | ||
| Выключен | Отказ внутренних источников питания устройства. | ||
| Status | Индикатор текущего состояния устройства. | Зеленый | Устройство работает нормально. |
| Красный | Устройство находится в состоянии загрузки ПО. | ||
Alarm | Индикатор наличия и уровня аварии устройства. | - | - |
User | Индикатор, использующийся для пользовательских сценариев, которые можно назначить в режиме конфигурирования устройства (не используется в текущей версии). | - | - |
Световая индикация ESR-15R
Состояние интерфейсов Ethernet отображается двумя светодиодными индикаторами – LINK/ACT зеленого цвета и SPEED янтарного цвета.
Таблица 61 – Световая индикация состояния интерфейсов Ethernet
Свечение индикатора SPEED | Свечение индикатора LINK/ACT | Состояние интерфейса Ethernet |
|---|---|---|
Выключен | Выключен | Порт выключен или соединение не установлено. |
Выключен | Горит постоянно | Установлено соединение на скорости 10 или 100 Мбит/с. |
Горит постоянно | Горит постоянно | Установлено соединение на скорости 1000 Мбит/с. |
X | Мигает | Идет передача данных. |
1111
Рисунок 84 – Расположение индикаторов разъема SFP
Рисунок 85 – Расположение индикаторов разъема RJ-45
В следующей таблице приведено описание состояний системных индикаторов устройства и их значений.
Таблица 62 – Состояния системных индикаторов
Название индикатора | Функция индикатора | Состояние индикатора | Состояние устройства |
|---|---|---|---|
Power | Индикатор питания устройства. | Зеленый | Питание устройства в норме. Источник питания работает нормально, основное ПО прогружено. |
Красный | Не прогружено основное ПО. | ||
Выключен | Отказ внутренних источников питания устройства. | ||
Status | Индикатор текущего состояния устройства. | Зеленый | Устройство работает нормально. |
Красный | Устройство находится в состоянии загрузки ПО. | ||
Alarm | Индикатор наличия и уровня аварии устройства. | - | - |
User | Индикатор, использующийся для пользовательских сценариев, которые можно назначить в режиме конфигурирования устройства. | - | - |
Световая индикация ESR-15
Состояние интерфейсов Ethernet отображается двумя светодиодными индикаторами – LINK/ACT зеленого цвета и SPEED янтарного цвета.
Таблица 63 – Световая индикация состояния интерфейсов Ethernet
Свечение индикатора SPEED | Состояние интерфейса Ethernet |
|---|---|
Выключен | Порт выключен или соединение не установлено. |
Горит постоянно янтарным | Установлено соединение на скорости 1000 Мбит/с. |
| Горит постоянно зеленым | Установлено соединение на скорости 10 или 100 Мбит/с. |
Мигает | Идет передача данных. |
В таблице 64 приведено описание состояний системных индикаторов устройства и их значений.
Таблица 64 – Состояния системных индикаторов
Название индикатора | Функция индикатора | Состояние индикатора | Состояние устройства |
|---|---|---|---|
Power | Индикатор питания устройства. | Зеленый | Питание устройства в норме. Источник питания работает нормально, основное ПО прогружено. |
Красный | Не прогружено основное ПО. | ||
Выключен | Отказ внутренних источников питания устройства. | ||
| USB1, USB2 | Индикаторы работы внешних USB-устройств. | Зеленый | Подключено USB-устройство. |
| Мигает зеленым | Выполнение операций чтения/записи. | ||
| Выключен | Нет подключенных устройств или проблемы с подключением. |
Световая индикация ESR-12V(F)
Состояние интерфейсов Ethernet отображается двумя светодиодными индикаторами – LINK/ACT зеленого цвета и SPEED янтарного цвета. Состояние интерфейсов FXS и FXO отображается одним светодиодным индикатором зелёного цвета.
Таблица 65 – Световая индикация состояния интерфейсов Ethernet
Свечение индикатора SPEED | Свечение индикатора LINK/ACT | Состояние интерфейса Ethernet |
|---|---|---|
Выключен | Выключен | Порт выключен или соединение не установлено. |
Выключен | Горит постоянно | Установлено соединение на скорости 10 или 100 Мбит/с. |
Горит постоянно | Горит постоянно | Установлено соединение на скорости 1000 Мбит/с. |
X | Мигает | Идет передача данных. |
Таблица 66 – Световая индикация FXS/FXO-интерфейсов
| Название индикатора | Состояние индикатора | Состояние устройства |
|---|---|---|
| [1–3] FXS | Зеленый, горит постоянно | Телефонная трубка поднята (линия активна). |
Не горит | Телефонная трубка положена, нормальная работа. | |
| Зеленый, в течение секунды мигает с частотой 20 Гц, затем 4 секунды пауза | На телефонный порт поступает входящий вызов. | |
Зеленый, периодическое редкое мигание | Отсутствует регистрация абонентского порта на SIP-сервере. | |
| FXO | Не горит | Канал не занят (шлейф разомкнут). |
| Зеленый, горит постоянно | Канал занят (шлейф замкнут). | |
| Зеленый, в течение секунды мигает с частотой 20 Гц, затем 4 секунды пауза | Поступает вызов со встречной АТС. |
Рисунок 86 – Расположение индикаторов разъема SFP
Рисунок 87 – Расположение индикаторов разъема RJ-45
Рисунок 88 – Расположение индикаторов FXS/FXO-интерфейсов
В таблице 67 приведено описание состояний системных индикаторов устройства и их значений.
Таблица 67 – Состояния системных индикаторов
Название индикатора | Функция индикатора | Состояние индикатора | Состояние устройства |
|---|---|---|---|
| Power | Индикатор питания устройства. | Зеленый | Питание устройства в норме. Источник питания работает нормально, основное ПО прогружено. |
| Красный | Не прогружено основное ПО. | ||
| Выключен | Отказ внутренних источников питания устройства. | ||
| Status | Индикатор текущего состояния устройства. | Зеленый | Устройство работает нормально. |
| Красный | Устройство находится в состоянии загрузки ПО. | ||
Alarm | Индикатор наличия и уровня аварии устройства. | - | - |
Световая индикация ESR-10
Состояние интерфейсов Ethernet отображается двумя светодиодными индикаторами – LINK/ACT зеленого цвета и SPEED янтарного цвета.
Таблица 68 – Световая индикация состояния интерфейсов Ethernet
Свечение индикатора SPEED | Состояние интерфейса Ethernet |
|---|---|
Выключен | Порт выключен или соединение не установлено. |
Горит постоянно янтарным | Установлено соединение на скорости 1000 Мбит/с. |
| Горит постоянно зеленым | Установлено соединение на скорости 10 или 100 Мбит/с. |
Мигание | Идет передача данных. |
В таблице 69 приведено описание состояний системных индикаторов устройства и их значений.
Таблица 69 – Состояния системных индикаторов
Название индикатора | Функция индикатора | Состояние индикатора | Состояние устройства |
|---|---|---|---|
Power | Индикатор питания устройства. | Зеленый | Питание устройства в норме. Источник питания работает нормально, основное ПО прогружено. |
Красный | Не прогружено основное ПО. | ||
Янтарный | Устройство находится в состоянии загрузки ПО. | ||
| Выключен | Отказ внутренних источников питания устройства. | ||
| USB1, USB2 | Индикаторы работы внешних USB-устройств. | Зеленый | Подключено USB-устройство. |
| Мигает зеленым | Выполнение операций чтения/записи. | ||
| Выключен | Нет подключенных устройств или проблемы с подключением. |
Комплект поставки
В базовый комплект поставки ESR-10 входят:
- маршрутизатор ESR-10;
- адаптер питания 220 В переменного тока/12 В постоянного тока, 1,5 А;
- сертификат соответствия;
- паспорт;
- документация (опционально);
- памятка о документации.
В базовый комплект поставки ESR-12V входят:
- маршрутизатор ESR-12V;
- кабель питания;
- консольный кабель;
- комплект для крепления устройства в стойку 19”;
- сертификат соответствия;
- паспорт;
- документация (опционально);
- памятка о документации.
В базовый комплект поставки ESR-12VF входят:
- маршрутизатор ESR-12VF;
- кабель питания;
- консольный кабель;
- комплект для крепления устройства в стойку 19”;
- сертификат соответствия;
- паспорт;
- документация (опционально);
- памятка о документации.
В базовый комплект поставки ESR-15 входят:
- маршрутизатор ESR-15;
- адаптер питания 220 В переменного тока/12 В постоянного тока, 2 А;
- сертификат соответствия;
- паспорт;
- документация (опционально);
- памятка о документации.
В базовый комплект поставки ESR-15R входят:
- маршрутизатор ESR-15R;
- кабель питания;
- консольный кабель;
- комплект для крепления устройства в стойку 19”;
- сертификат соответствия;
- паспорт;
- документация (опционально);
- памятка о документации.
В базовый комплект поставки ESR-15VF входят:
- маршрутизатор ESR-15VF;
- кабель питания;
- консольный кабель;
- комплект для крепления устройства в стойку 19”;
- сертификат соответствия;
- паспорт;
- документация (опционально);
- памятка о документации.
В базовый комплект поставки ESR-20 входят:
- маршрутизатор ESR-20;
- кабель питания;
- консольный кабель;
- комплект для крепления устройства в стойку 19”;
- сертификат соответствия;
- паспорт;
- документация (опционально);
- памятка о документации.
В базовый комплект поставки ESR-21 входят:
- маршрутизатор ESR-21;
- кабель питания;
- консольный кабель;
- комплект для крепления устройства в стойку 19”;
- сертификат соответствия;
- паспорт;
- документация (опционально);
- памятка о документации.
В базовый комплект поставки ESR-30 входят:
- маршрутизатор ESR-30;
- кабель питания;
- консольный кабель;
- комплект для крепления устройства в стойку 19”;
- сертификат соответствия;
- паспорт;
- документация (опционально);
- памятка о документации.
В базовый комплект поставки ESR-31 входят:
- маршрутизатор ESR-31;
- консольный кабель;
- комплект для крепления устройства в стойку 19”;
- сертификат соответствия;
- паспорт;
- документация (опционально);
- памятка о документации.
В базовый комплект поставки ESR-100 входят:
- маршрутизатор ESR-100;
- кабель питания;
- консольный кабель;
- комплект для крепления устройства в стойку 19”;
- сертификат соответствия;
- паспорт;
- документация (опционально);
- памятка о документации.
В базовый комплект поставки ESR-200 входят:
- маршрутизатор ESR-200;
- кабель питания;
- консольный кабель;
- комплект для крепления устройства в стойку 19”;
- сертификат соответствия;
- паспорт;
- документация (опционально);
- памятка о документации.
В базовый комплект поставки ESR-1000 входят:
- маршрутизатор ESR-1000;
- консольный кабель;
- комплект для крепления устройства в стойку 19”;
- сертификат соответствия;
- паспорт;
- документация (опционально);
- памятка о документации.
В базовый комплект поставки ESR-1200 входят:
- маршрутизатор ESR-1200;
- консольный кабель;
- комплект для крепления устройства в стойку 19”;
- сертификат соответствия;
- паспорт;
- документация (опционально);
- памятка о документации.
В базовый комплект поставки ESR-1500 входят:
- маршрутизатор ESR-1500;
- консольный кабель;
- комплект для крепления устройства в стойку 19”;
- сертификат соответствия;
- паспорт;
- документация (опционально);
- памятка о документации.
В базовый комплект поставки ESR-1511 входят:
- маршрутизатор ESR-1511;
- консольный кабель;
- комплект для крепления устройства в стойку 19”;
- сертификат соответствия;
- паспорт;
- документация (опционально);
- памятка о документации.
В базовый комплект поставки ESR-1511 rev.B входят:
- маршрутизатор ESR-1511 rev.B;
- консольный кабель;
- комплект для крепления устройства в стойку 19”;
- сертификат соответствия;
- паспорт;
- документация (опционально);
- памятка о документации.
В базовый комплект поставки ESR-1700 входят:
- маршрутизатор ESR-1700;
- консольный кабель;
- комплект для крепления устройства в стойку 19”;
- сертификат соответствия;
- паспорт;
- документация (опционально);
- памятка о документации.
В базовый комплект поставки ESR-3100 входят:
- маршрутизатор ESR-3100;
- консольный кабель;
- комплект для крепления устройства в стойку 19”;
- сертификат соответствия;
- паспорт;
- документация (опционально);
- памятка о документации.
В базовый комплект поставки ESR-3200 входят:
- маршрутизатор ESR-3200;
- консольный кабель;
- комплект для крепления устройства в стойку 19”;
- сертификат соответствия;
- паспорт;
- документация (опционально);
- памятка о документации.
В базовый комплект поставки ESR-3200L входят:
- маршрутизатор ESR-3200L;
- консольный кабель;
- комплект для крепления устройства в стойку 19”;
- сертификат соответствия;
- паспорт;
- документация (опционально);
- памятка о документации.
В базовый комплект поставки ESR-3300 входят:
- маршрутизатор ESR-3300;
- консольный кабель;
- комплект для крепления устройства в стойку 19”;
- сертификат соответствия;
- паспорт;
- документация (опционально);
- памятка о документации.
По заказу покупателя для ESR-1000, ESR-1200 в комплект поставки может быть включен модуль питания (PM160-220/12 или PM100-48/12).
По заказу покупателя для ESR-1500, ESR-1511, ESR-1511 rev.B, ESR-3100, ESR-3200, ESR-3200L в комплект поставки может быть включен модуль питания (PM160-220/12).
По заказу покупателя для ESR-3300 в комплект поставки может быть включен модуль питания (PM600-220/12).
По заказу покупателя для ESR-1700 в комплект поставки может быть включен модуль питания (PM350-220/12 или PM350-48/12).
По заказу покупателя в комплект поставки могут быть включены SFP/SFP+-трансиверы.






































































