Версия ПО 1.21.0
Введение
Аннотация
В настоящем руководстве изложены назначение, основные технические характеристики, конструктивное исполнение, порядок установки и рекомендации по начальной настройке устройства SL-10-WBZ.
Условные обозначения
Примечания содержат важную информацию по использованию и настройке устройства.
Подсказки содержат дополнительную информацию, советы или рекомендации по использованию и настройке устройства.
Описание изделия
SL-10-WBZ — локальный центр управления умным домом (далее устройство), разработанный для организации единой системы управления, конфигурирования и мониторинга умных устройств ELTEX. Основное преимущество SL-10-WBZ — возможность работы без доступа в Интернет в рамках одного объекта (дома).
Использование SL-10-WBZ с мобильным приложением Eltex Home позволяет:
- осуществлять мониторинг состояния устройств умного дома, в том числе и через удаленный доступ;
- управлять датчиками без вспомогательных устройств;
- получать уведомления о событиях;
- одновременно подключать до 10 камер;
- записывать видеоархив;
- создавать сценарии работы устройств в доме.
Возможность удаленного подключения к SL-10-WBZ через сеть Интернет необходимо уточнить у вашего поставщика услуг умного дома.
Характеристики устройства
Технические характеристики
Аппаратные возможности:
– 16560 DMIPS
– 2 ГБ RAM
Сеть:
Поддержка протоколов IP, ARP, HTTP, DHCP, ICMP, NTP, TCP, UDP, RTSP, MQTT, SSDP
Интерфейсы:
– 1 × 10/100BASE-T (RJ-45)
– 3 × USB 2.0
– 1 × MicroSD
– Интерфейс «Умный дом» — радиоинтерфейс для управления системой «Умный дом»
– Wi-Fi
– 2.4 ГГц b/g/n
– 5 ГГц a/n/ac
– Zigbee 2.4 ГГц1
Беспроводная сеть Wi-Fi:
– Двухдиапазонный Wi-Fi IEEE 802.11a/b/g/n/ac, 2.4/5 ГГц
– Встроенная антенна
Физические характеристики:
– Потребляемая мощность: не более 17 Вт
– Допустимая нагрузка USB-порта: 2 × 0,6 А; 1 × 1,2 А
– Рабочий диапазон температур: от 0 до +40 °С
– Габариты (Ш × В × Г): 128 × 119 × 28 мм
– Масса: 0,16 кг
– Срок службы не менее 5 лет
Характеристики электропитания:
– Адаптер питания: 12 В, 2 A
– Батарея CR2032 для RTC
Для работы с устройствами Zigbee необходимо подключение внешнего Zigbee-адаптера к одному из USB-портов локального центра. Рекомендуется использовать адаптер Sonoff Zigbee 3.0 USB Dongle Plus-E.
Конструктивное исполнение
Локальный центр управления умным домом SL-10-WBZ выполнен в пластиковом корпусе размерами
128 × 119 × 28 мм.
Верхняя панель устройства
Рисунок 1 — Верхняя панель SL-10-WBZ
Описание световой индикации верхней панели устройства:
| Иконка | Индикатор | Состояние индикатора | Состояние устройства | |
|---|---|---|---|---|
| 1 | Power | зеленый, горит | включено питание, нормальная работа центра | |
| зеленый, мигает | идет обновление центра | |||
| Network | зеленый, горит | установлено соединение с подключенным сетевым устройством | |
| зеленый, мигает | есть проблемы с сетью (нет доступа в локальную сеть, нет доступа в глобальную сеть) | |||
3 | Sys | зеленый, горит | все сервисы запущены, нормальная работа центра | |
| зеленый, мигает | возможные проблемы: не работает какой-либо из ключевых сервисов недоступно подключаемое к платформе устройство (Wi-Fi/ ошибки при работе с внешним накопителем |
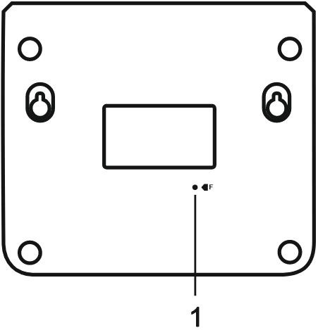
Нижняя панель устройства
Рисунок 2 — Нижняя панель SL-10-WBZ
| Элемент нижней панели | Описание | |
|---|---|---|
| 1 | F | Кнопка сброса к заводским настройкам |
Задняя панель устройства
Рисунок 3 — Задняя панель SL-10-WBZ
| Элемент задней панели | Описание | |
|---|---|---|
| 1 | Кнопка включения/отключения питания устройства | |
| 2 | 12 V | Разъем для подключения адаптера питания |
| 3 | WAN | Разъем WAN для подключения к сети |
| 4 | Разъем USB для подключения внешних USB-устройств |
Правая боковая панель устройства
Рисунок 4 — Правая боковая панель SL-10-WBZ
| Элемент правой боковой панели | Описание | |
|---|---|---|
| 1 | Разъем USB для подключения внешних USB-устройств | |
| 2 | MICRO SD | Разъем для MicroSD-карты |
Сброс к заводским настройкам
Нажмите кнопку «F» на нижней панели устройства и удерживайте в течение 6 секунд. Все индикаторы на верхней панели начнут мигать. Начнется перезагрузка устройства. По завершении загрузки все индикаторы на верхней панели загорятся. После сброса платформа удалит все добавленные устройства, пользователей и все свои настройки.
Также сброс к заводским настройкам доступен в web-интерфейсе (подробнее в Web-интерфейс SL-10-WBZ).
Комплект поставки
- Локальный центр управления умным домом SL-10-WBZ;
- Адаптер питания;
- Патч-корд RJ-45 (Ethernet-кабель), кат.5е, 1.5. м;
- Руководство по установке и первичной настройке.
Порядок установки
Инструкции по технике безопасности
- Не устанавливайте устройство рядом с источниками тепла.
- Устройство должно располагаться в месте, защищенном от прямых солнечных лучей.
- Не подвергайте устройство воздействию дыма, пыли, воды и других жидкостей. Не допускайте механических повреждений устройства.
- Не вскрывайте корпус устройства. Внутри устройства нет элементов, предназначенных для обслуживания пользователем.
- В конце срока службы не выбрасывайте устройство с обычным бытовым мусором.
Рекомендации по установке
- Перед установкой и включением устройства необходимо проверить устройство на наличие видимых механических повреждений. В случае наличия повреждений следует прекратить установку устройства.
- Если устройство находилось длительное время при низкой температуре, перед началом работы следует выдержать его в течение двух часов при комнатной температуре. После длительного пребывания устройства в условиях повышенной влажности перед включением выдержать в нормальных условиях не менее 12 часов.
- Устройство устанавливается в горизонтальном положении, с соблюдением инструкции по технике безопасности.
- При размещении устройства для обеспечения работы с наилучшими характеристиками учитывайте следующие правила:
- Устанавливайте устройство в зоне уверенного приема беспроводной сети роутера;
- Минимизируйте число преград (стены, потолки, мебель и другое) между устройством, роутером и другими беспроводными сетевыми устройствами;
- Не устанавливайте устройство вблизи (менее 2 м) электрических и радио устройств.
Предварительная подготовка оборудования
Список необходимого оборудования:
- Локальный центр SL-10-WBZ;
- Мобильный телефон с установленным приложением Eltex Home;
- Ethernet-кабель для подключения устройства к сети;
- Wi-Fi роутер;
- Блок питания.
Установка мобильного приложения Eltex Home
Скачайте мобильное приложение Eltex Home в Play Market или App Store. Для этого в поиске введите название «Eltex Home» или воспользуйтесь QR-кодом ниже. Также приложение доступно в магазинах Rustore и Huawei AppGallery.
Подключение SL-10-WBZ
Подключите SL-10-WBZ к сети 220 В через адаптер питания 12 В, 2 A. Соедините WAN-порт центра с LAN-портом роутера, организующего вашу домашнюю Wi-Fi сеть, с помощью Ethernet-кабеля из комплекта. После этого включите SL-10-WBZ, используя кнопку питания, расположенную на задней панели.
Если вы планируете использовать видеокамеры и запись архива с них, то необходимо подключить внешнее хранилище (USB Flash накопитель, внешний жесткий диск и т. д.) в USB-порт или в разъем для MicroSD-карты.
Для работы с устройствами Zigbee необходимо подключение внешнего Zigbee-адаптера к одному из USB-портов локального центра. Рекомендуется использовать адаптер Sonoff Zigbee 3.0 USB Dongle Plus-E.
Как только все светодиоды на верхней панели центра загорятся, устройство будет доступно для настройки.
Итоговая схема подключения по Ethernet будет выглядеть следующим образом:
После этого через web-интерфейс локального центра можно настроить подключение SL-10-WBZ по Wi-Fi (подробнее в Web-интерфейс SL-10-WBZ).
SL-10-WBZ может работать без доступа в интернет, но если он требуется, а на роутер нет возможности дать доступ, то на платформе есть поддержка 4G-модемов. Перед использованием 4G-модема включите функцию удаленного доступа. Проверьте его работу через мобильное приложение и уже после этого подключите 4G-модем.
После этого, при необходимости, вы можете использовать SL-10-WBZ и без подключения к роутеру, но в таком случае управлять и подключать можно будет только Z-Wave устройства, для Wi-Fi устройств необходимо подключение к точке доступа 2.4 ГГц.
Начало работы
Работа с локальным центром осуществляется с помощью мобильного приложения Eltex Home.
Регистрация
Если учетная запись еще не создана, необходимо зарегистрироваться в приложении Eltex Home.
Если учетная запись уже существует, пропустите шаги, описанные в данном разделе, и перейдите к разделу Вход.
О возможности интеграции SL-10-WBZ необходимо уточнить у вашего поставщика услуг умного дома.
Откройте приложение. Нажмите на кнопку «Выбор сервера», укажите сервер и убедитесь, что выбран необходимый пункт (например, на скриншоте указан server.ru).
После этого нажмите кнопку Начать.
Затем нажмите кнопку Зарегистрироваться.
Введите адрес почты для регистрации и нажмите кнопку Далее.
Придумайте пароль и подтвердите его. Введите символы с экрана в соответствующее поле для проверки безопасности. Нажмите кнопку Зарегистрироваться.
На указанный в форме e-mail будет отправлено уведомление со ссылкой для активации учетной записи и дальнейшими инструкциями. Перейдите по ссылке. Откроется форма авторизации и отобразится уведомление об успешной регистрации учетной записи.
Вход в облачную учетную запись
Введите логин и пароль от учетной записи в соответствующие поля.
Логин и пароль выдаются сотрудником технической поддержки или при самостоятельной регистрации.
Нажмите кнопку Войти.
Добавление локального центра
На экране дом нажмите на карточку Добавить устройство.
Если в доме уже есть устройства, нажмите на иконку в верхней правой части страницы дома и во всплывающей панели выберите пункт Устройство.
Во всплывающей панели выберите пункт Локальный центр.
Убедитесь, что локальный центр подключен так, как представлено на схеме на экране приложения. Нажмите Продолжить.
Для обнаружения локального центра подключитесь к той сети Wi-Fi, которая находится с SL-10-WBZ в одной локальной сети.
Выберите обнаруженный локальный центр.
Если не удаётся обнаружить локальный центр, необходимо:
- Проверить, что на SL-10-WBZ подаётся питание и центр подключен к сети Интернет.
- Проверить, что мобильное устройство подключено к нужной точке доступа.
- Перезагрузить мобильное устройство.
- Переустановить приложение Eltex Home.
Отсканируйте штрихкод, который находится на корпусе устройства, или введите серийный номер SL-10-WBZ вручную. Нажмите Продолжить.
Зарегистрируйте локальную учётную запись для работы с локальным центром и нажмите Далее.
Если локальная учетная запись была создана ранее, на данном этапе потребуется ввести новые учетные данные.
После этого локальный центр может начать обновление ПО, которое занимает от 3 до 5 минут. В случае если уже установлена актуальная версия ПО, обновление будет пропущено.
Задайте название локальному дому, который будет создан после добавления локального центра. Если нужно, измените часовой пояс (определяется автоматически). Нажмите Создать дом.
Ожидайте регистрации локального центра на платформе.
После добавления локального центра нажмите Перейти к дому.
Также можно подключиться к локальному центру напрямую. Подробнее см. в руководстве «Мобильное приложение Eltex Home».
Подключение к локальному центру напрямую исключает возможность работы с платформой через удаленный доступ, а также возможность обращения в техподдержку через мобильное приложение.
Дальнейшая работа с мобильным приложением описана в руководстве «Мобильное приложение Eltex Home».

















